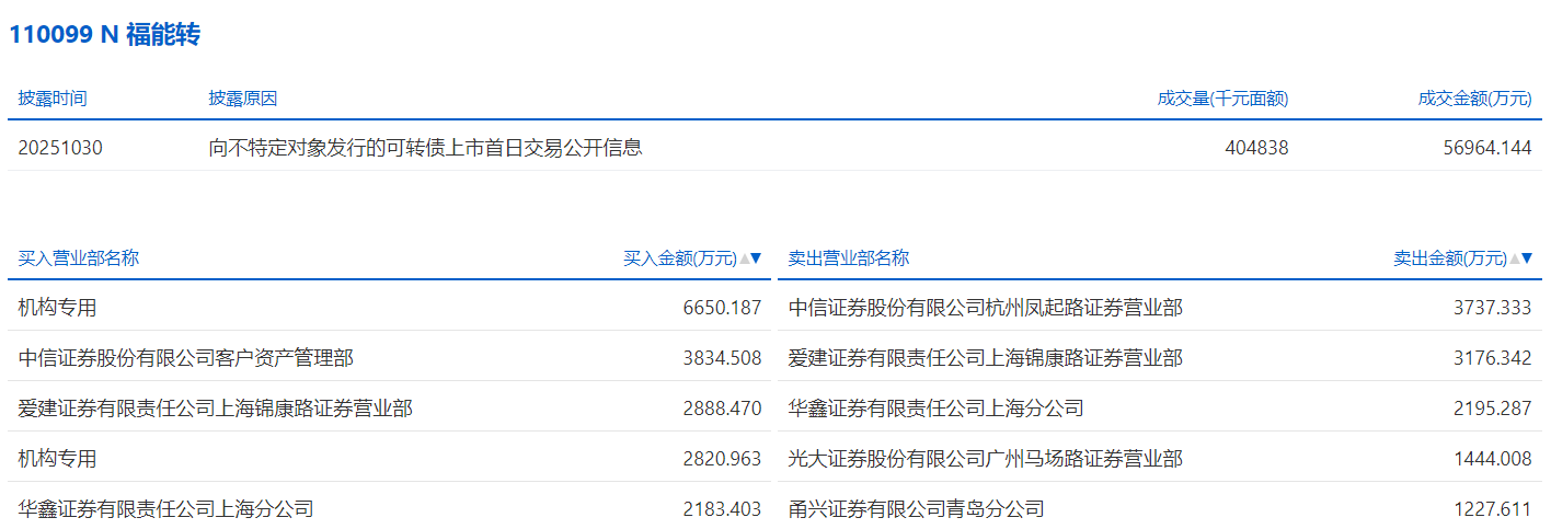
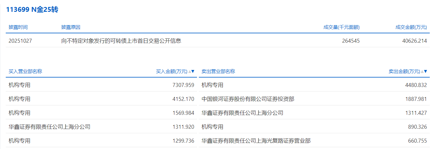
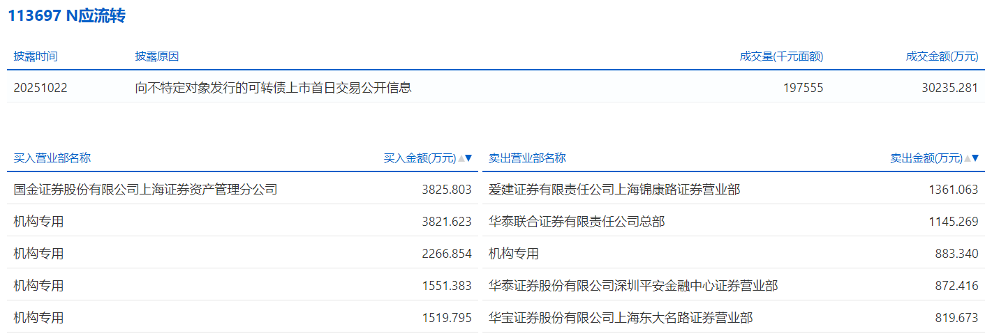
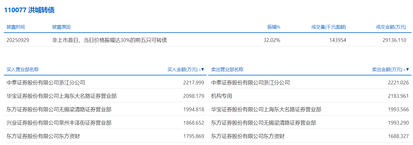
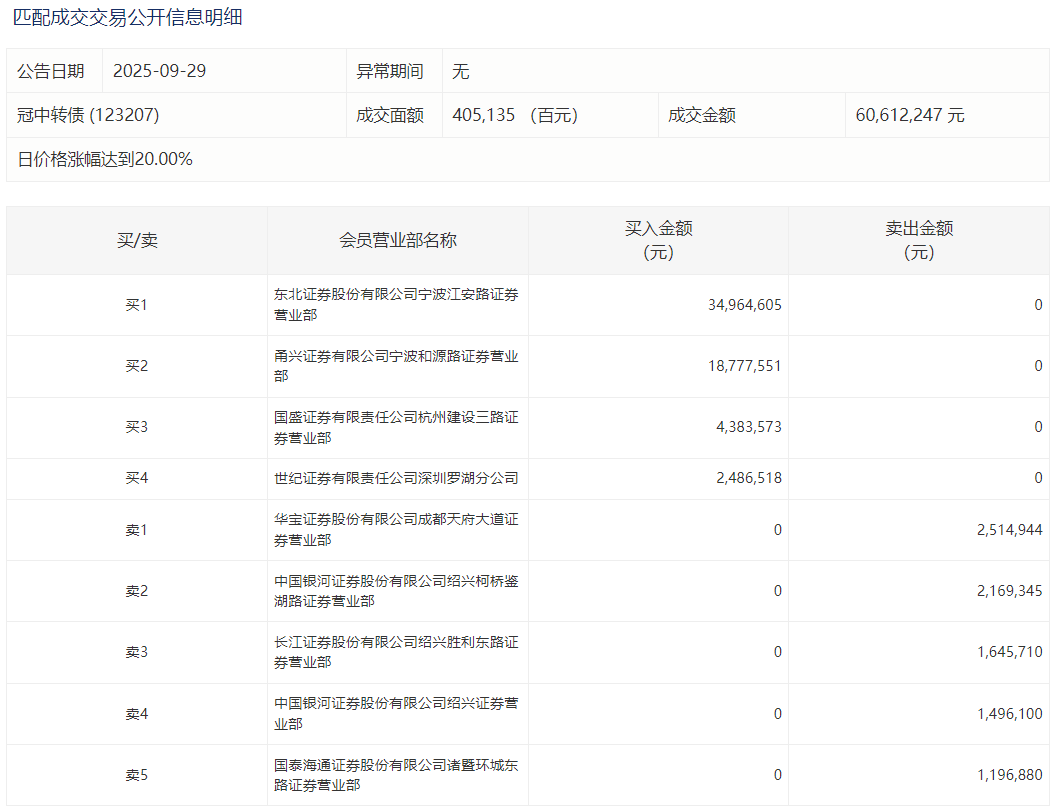
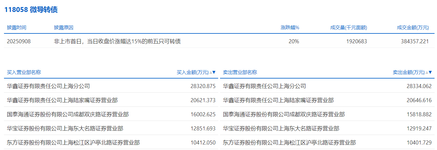
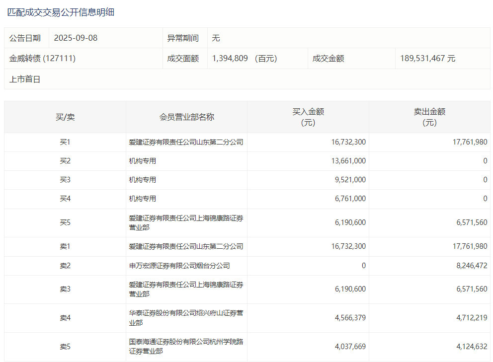
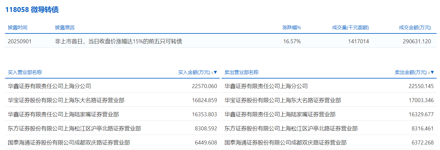
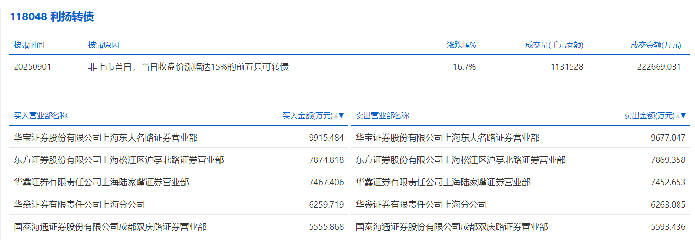
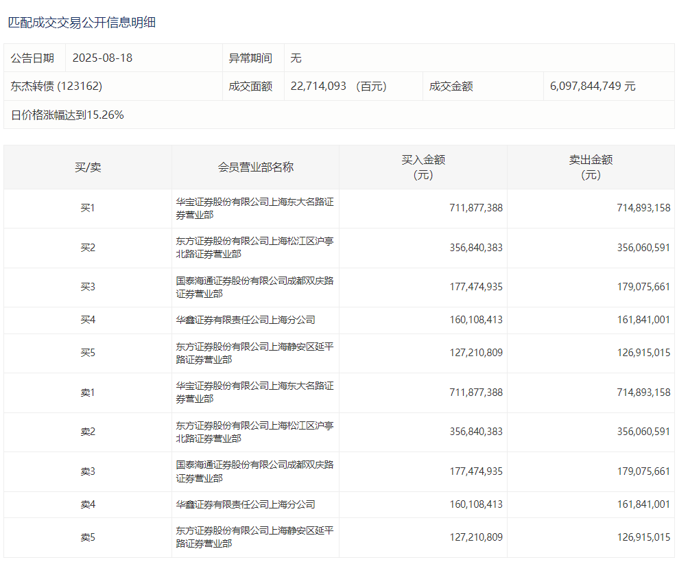
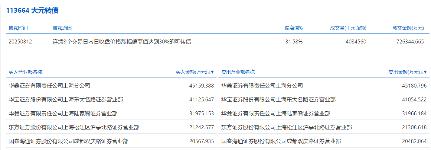
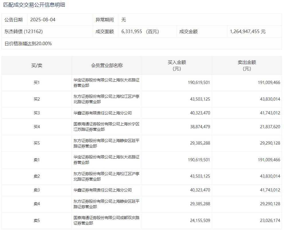
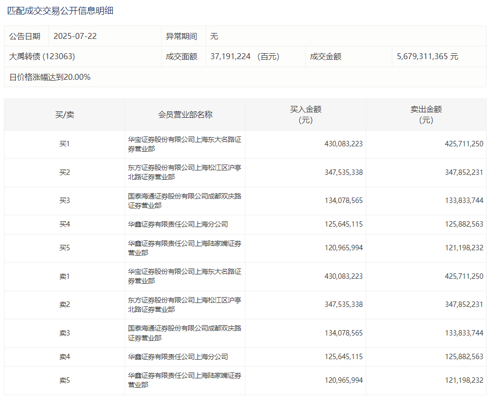
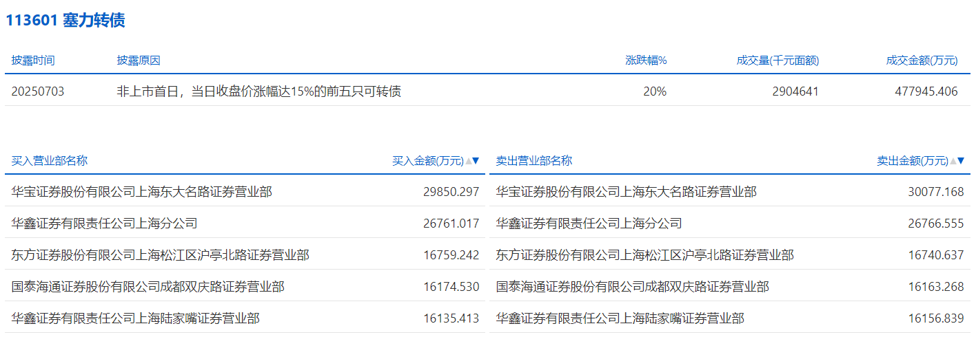
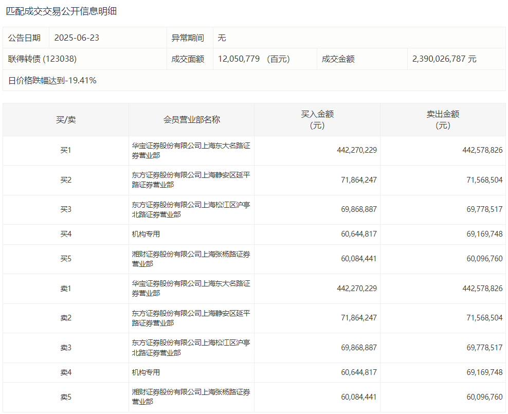
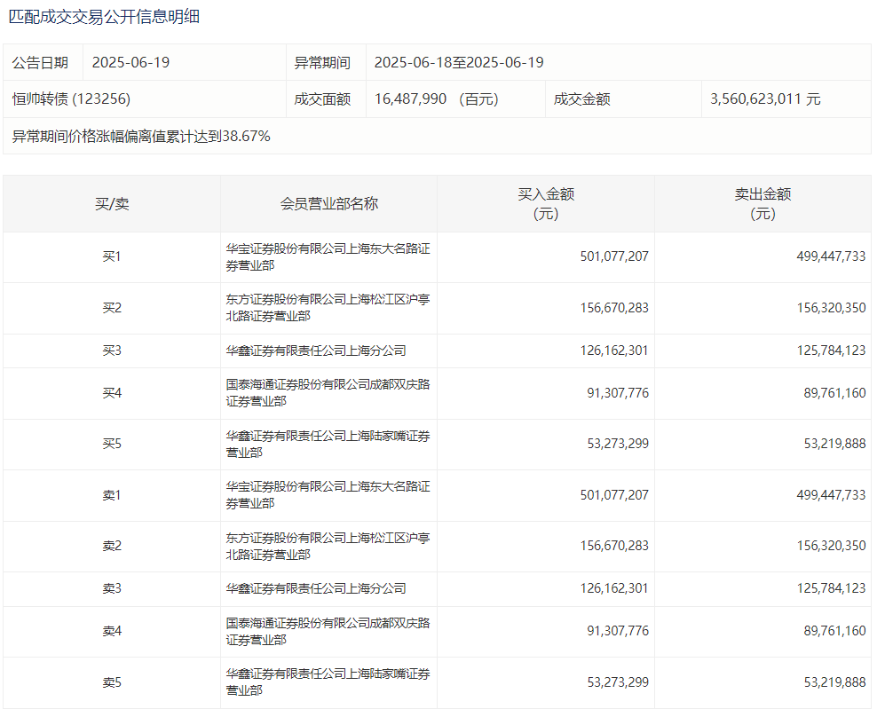
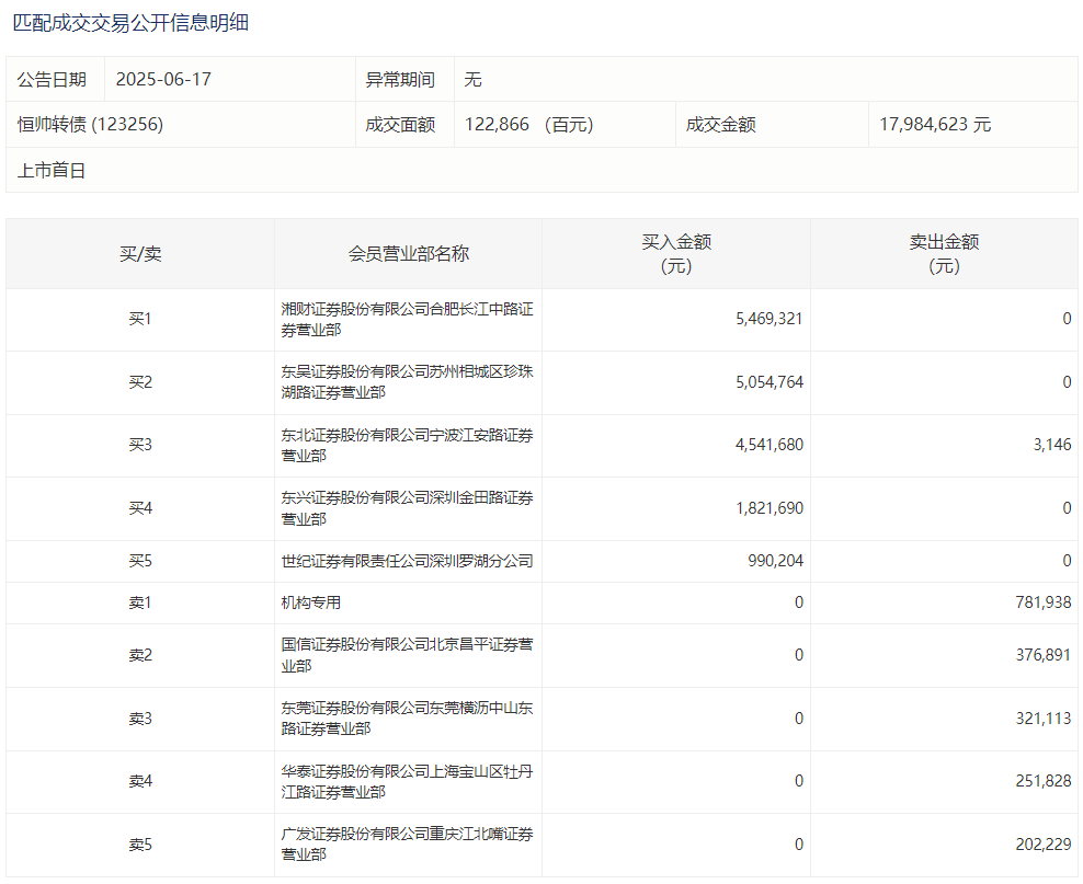
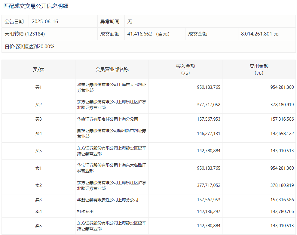
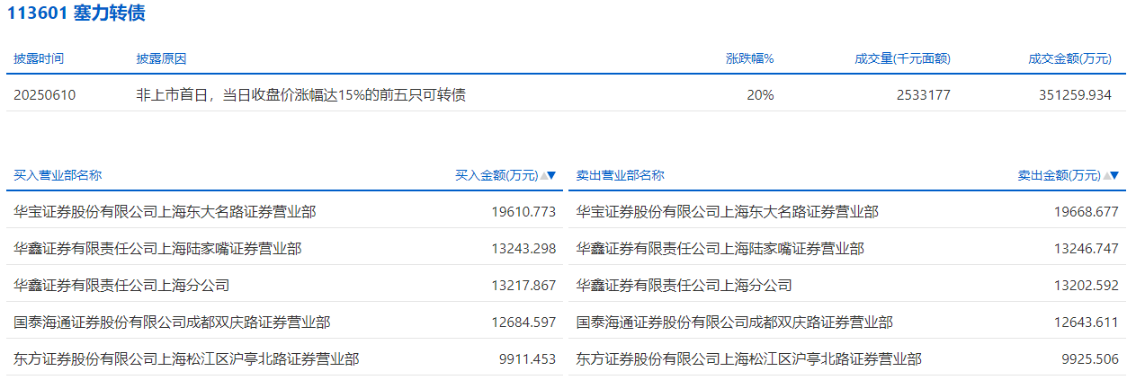
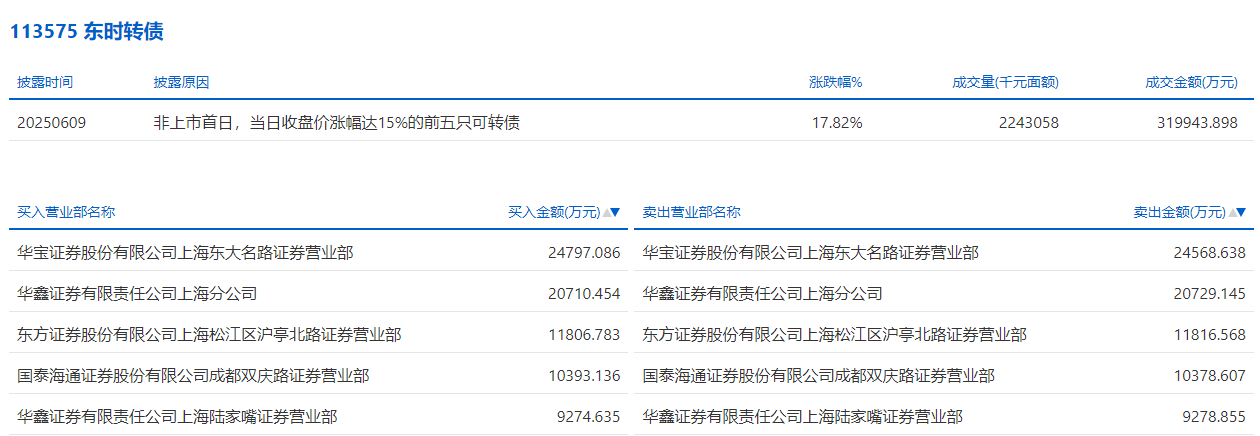
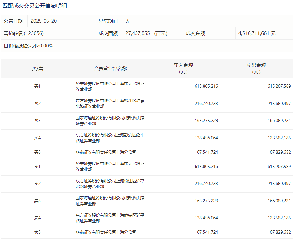
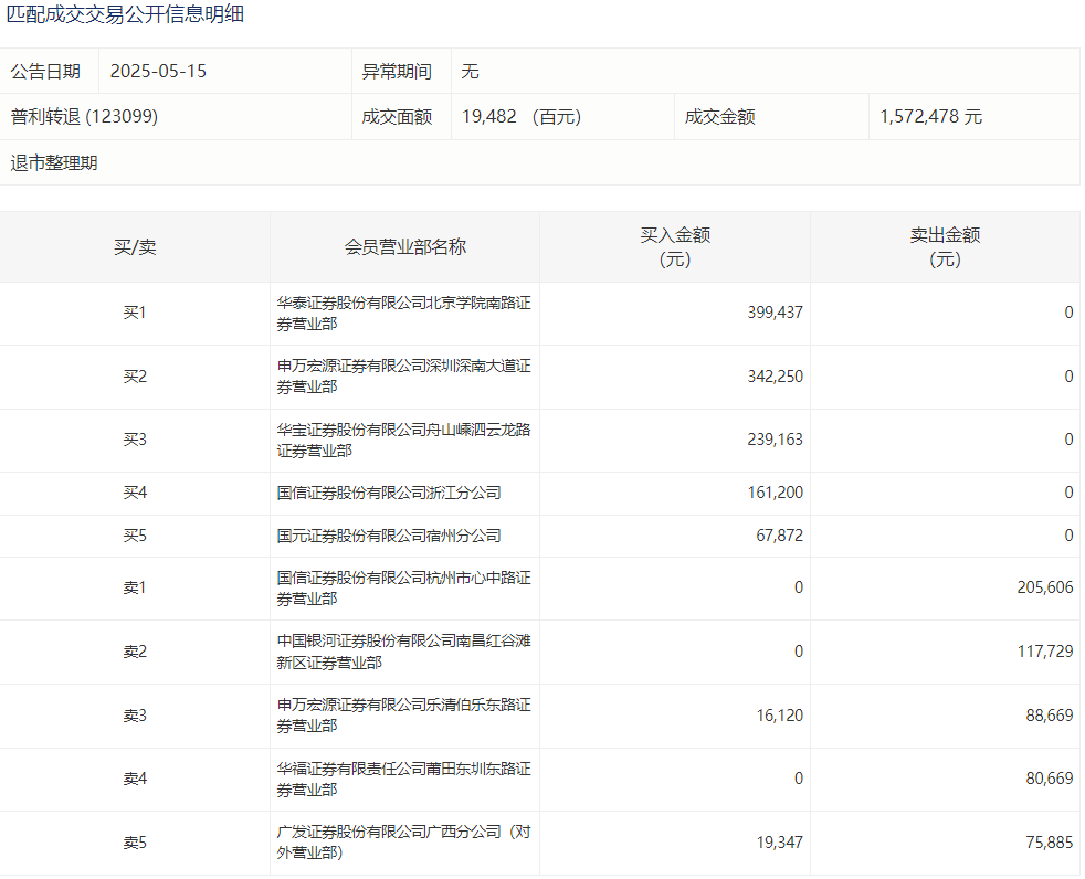
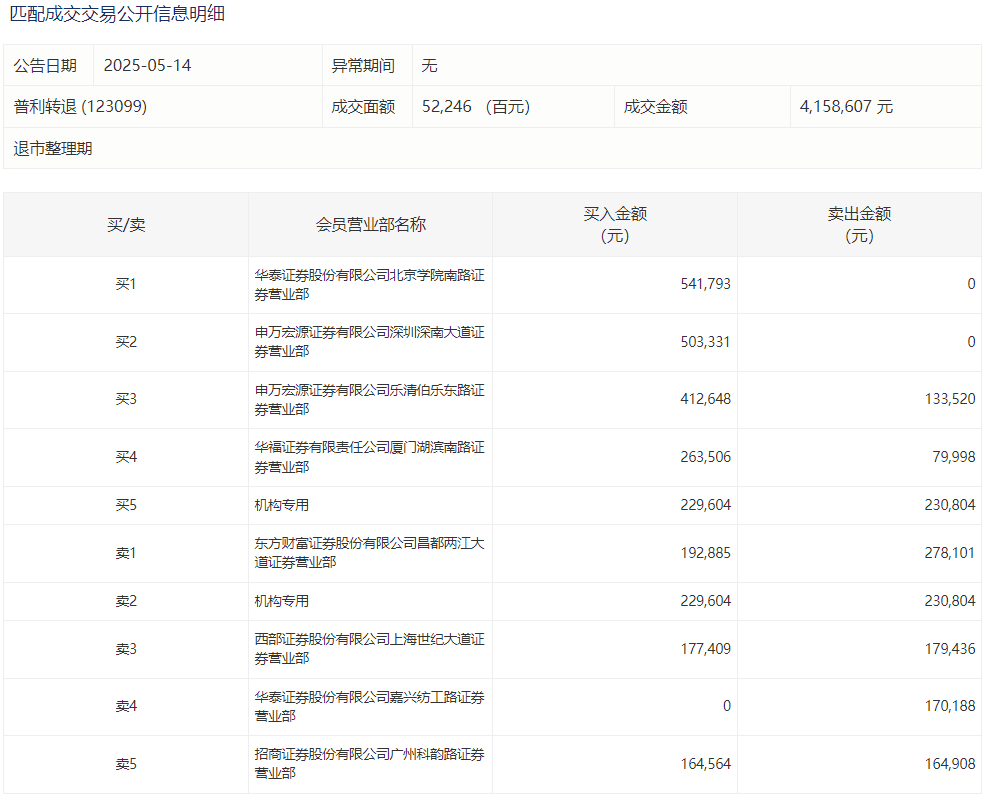
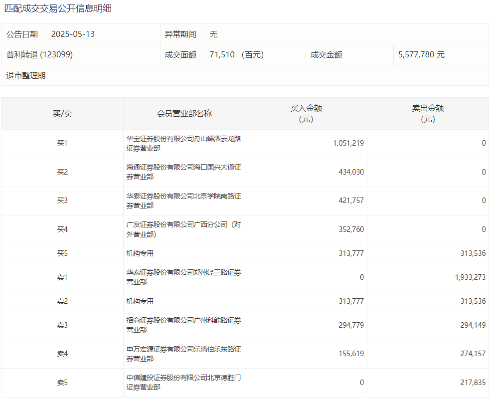
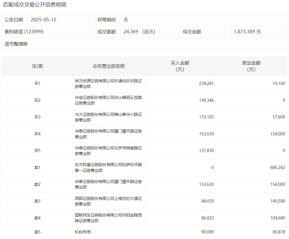
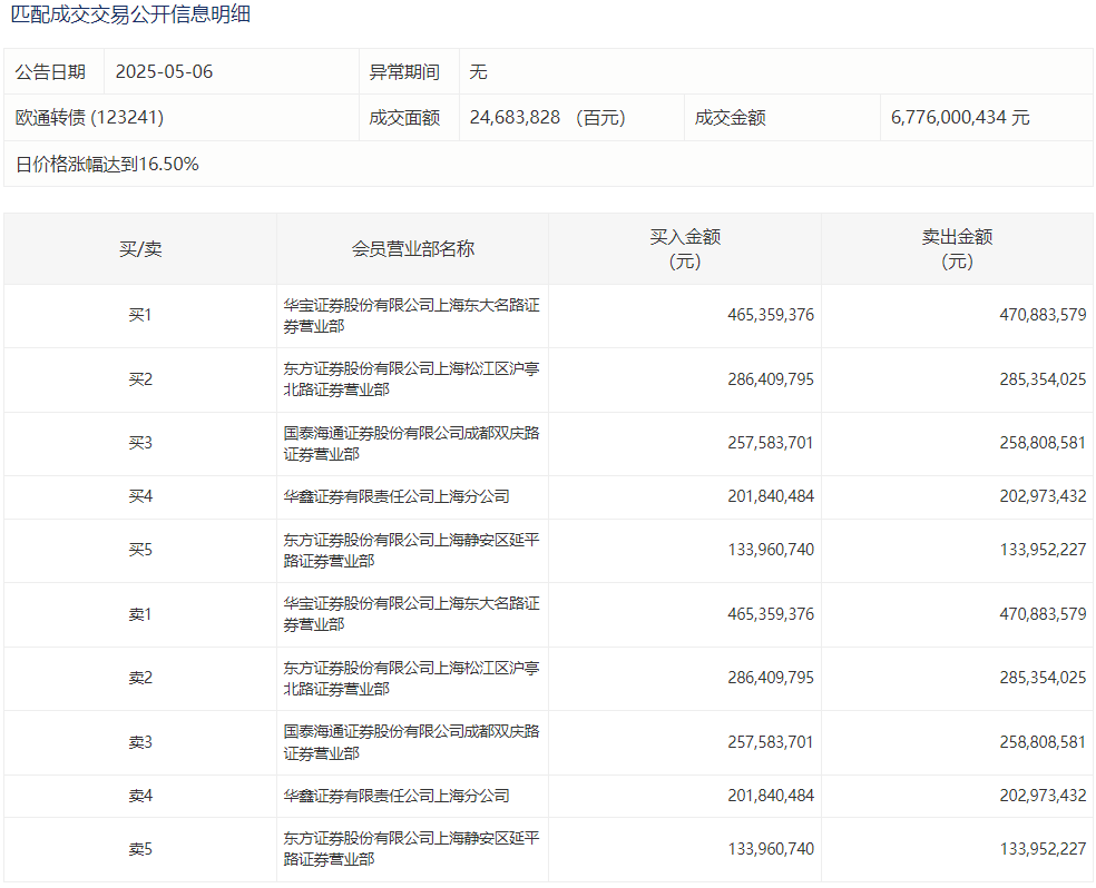
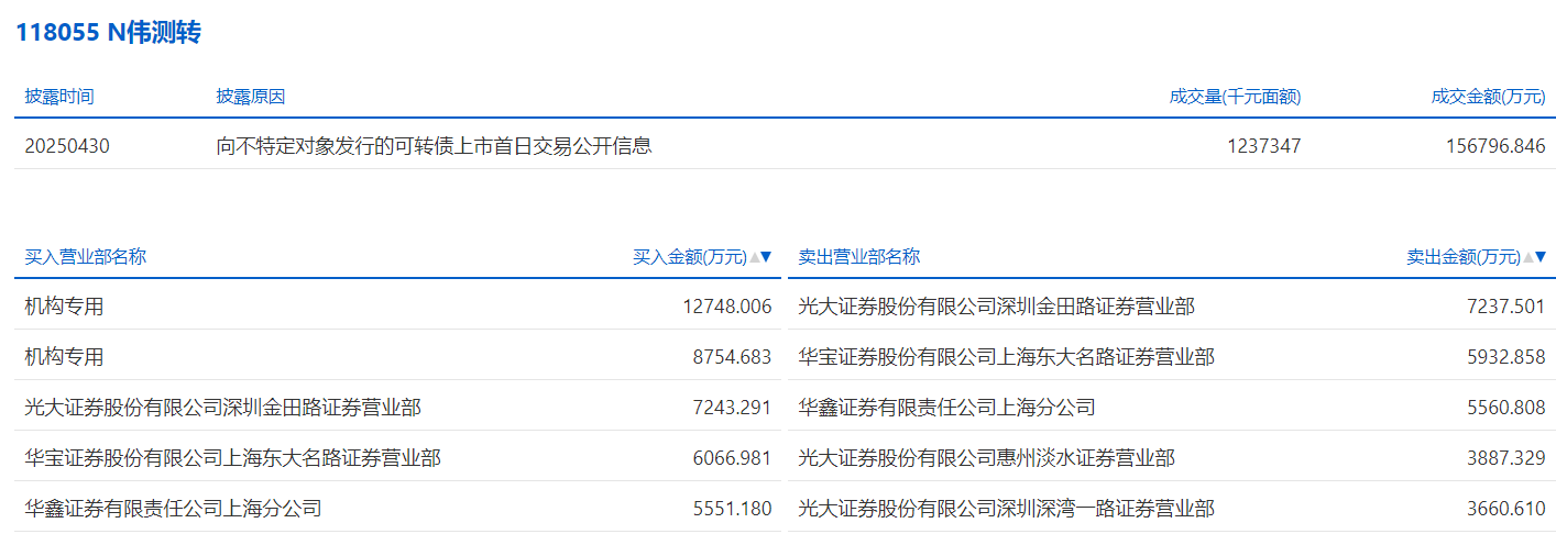
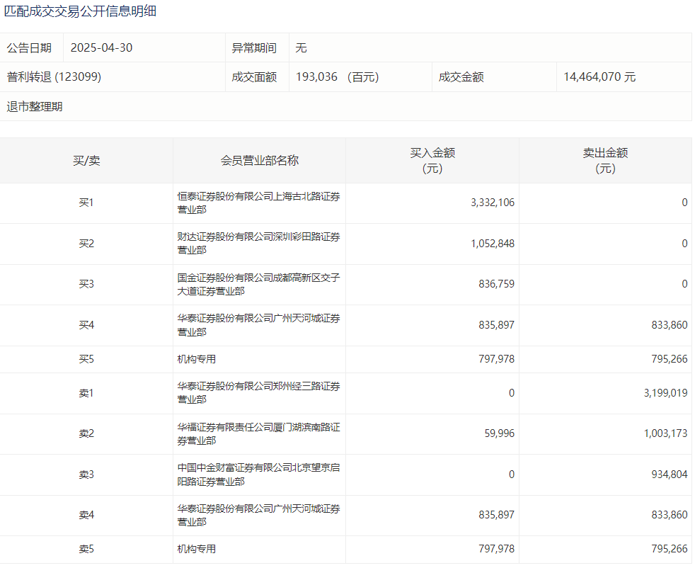
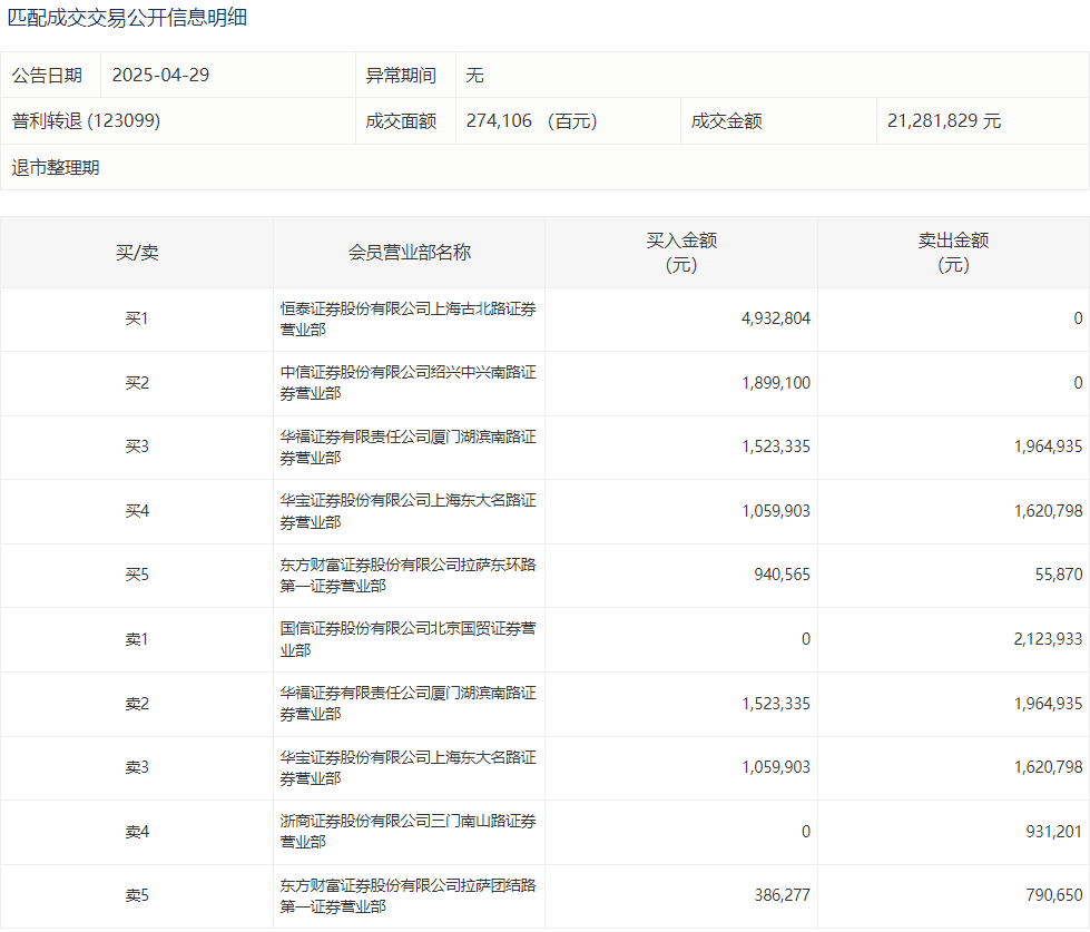
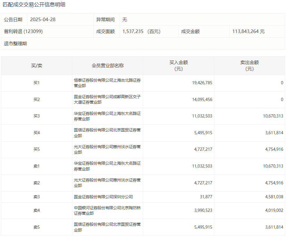
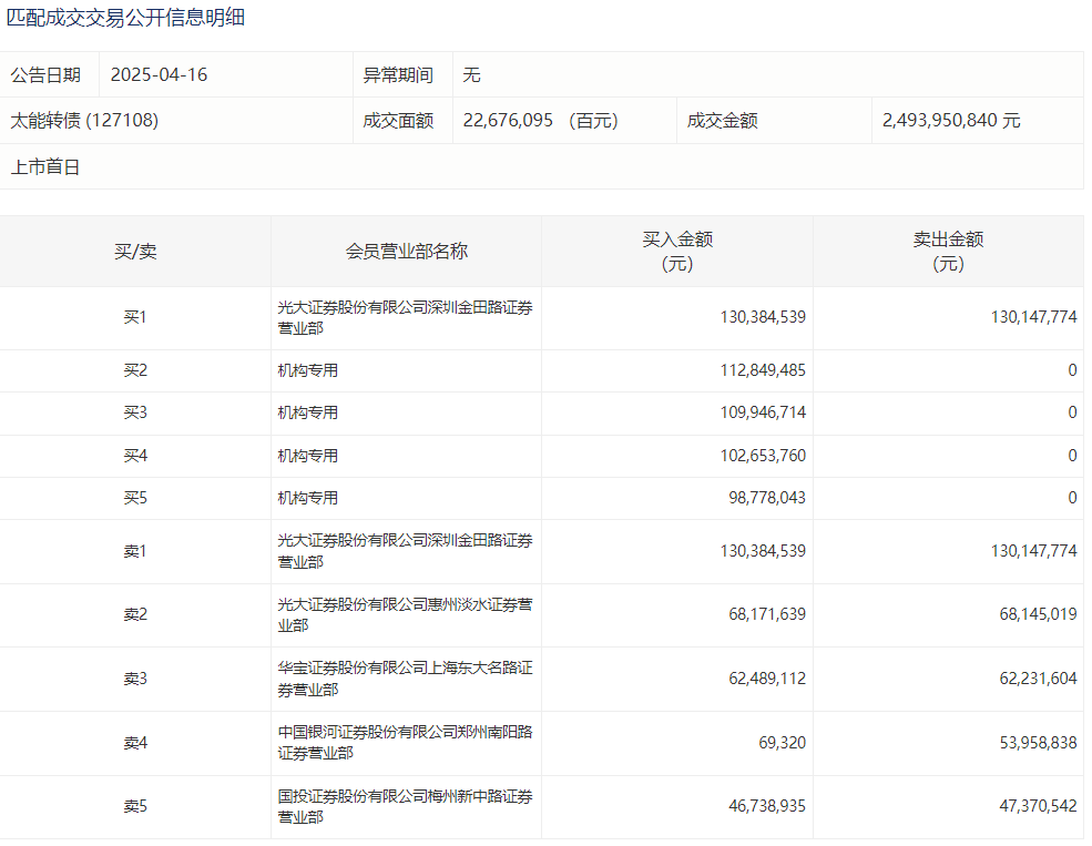
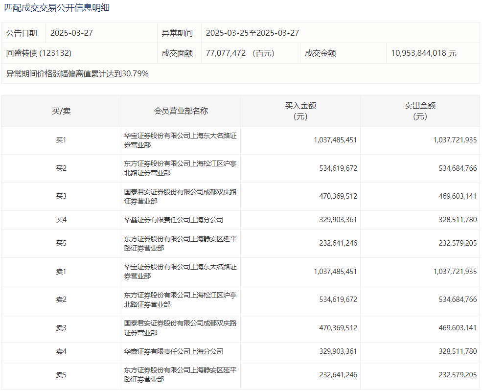
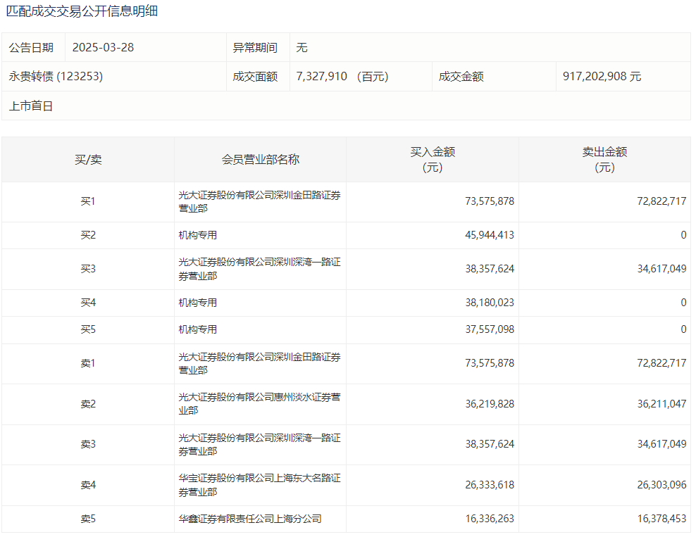
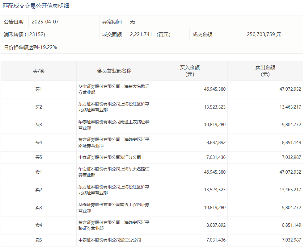
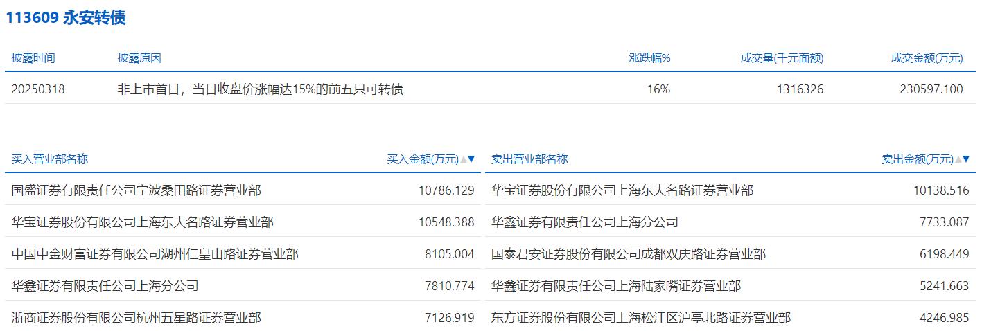
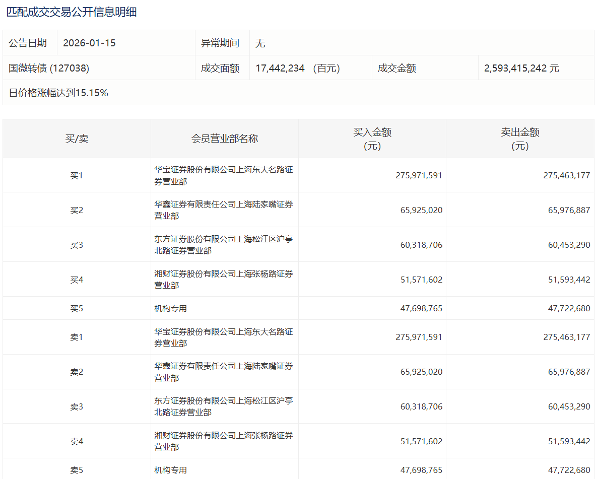
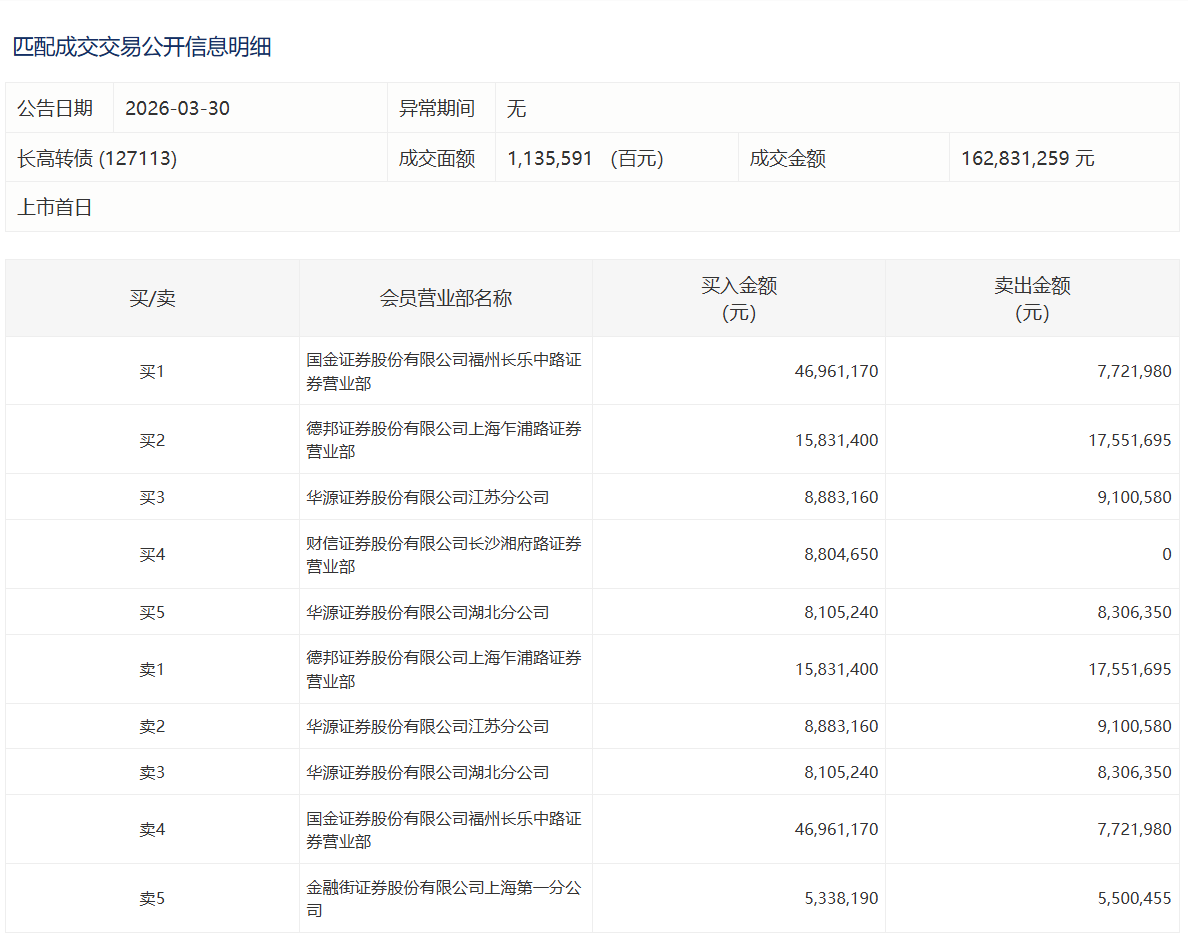
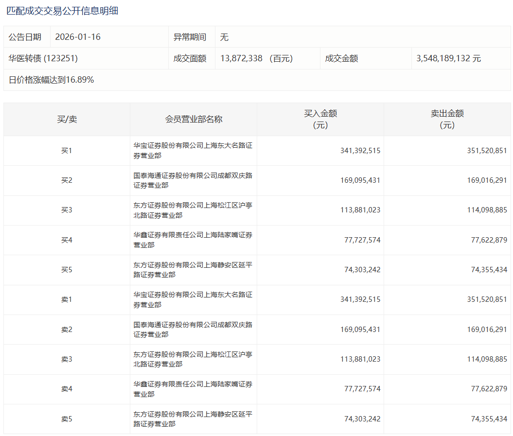
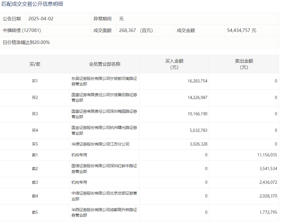
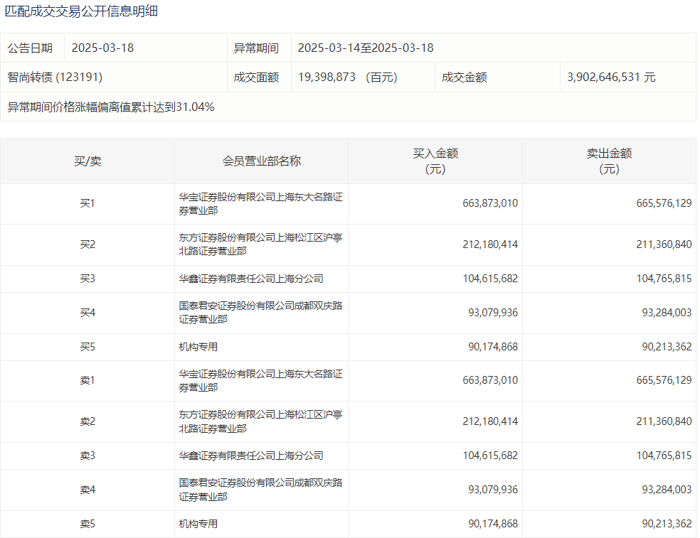
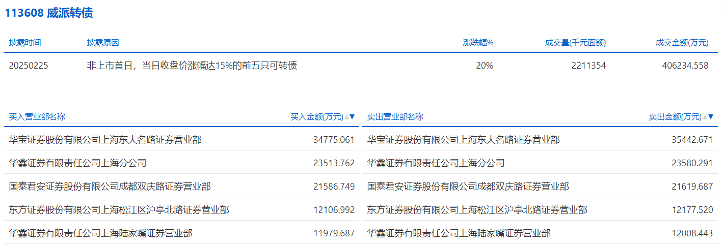
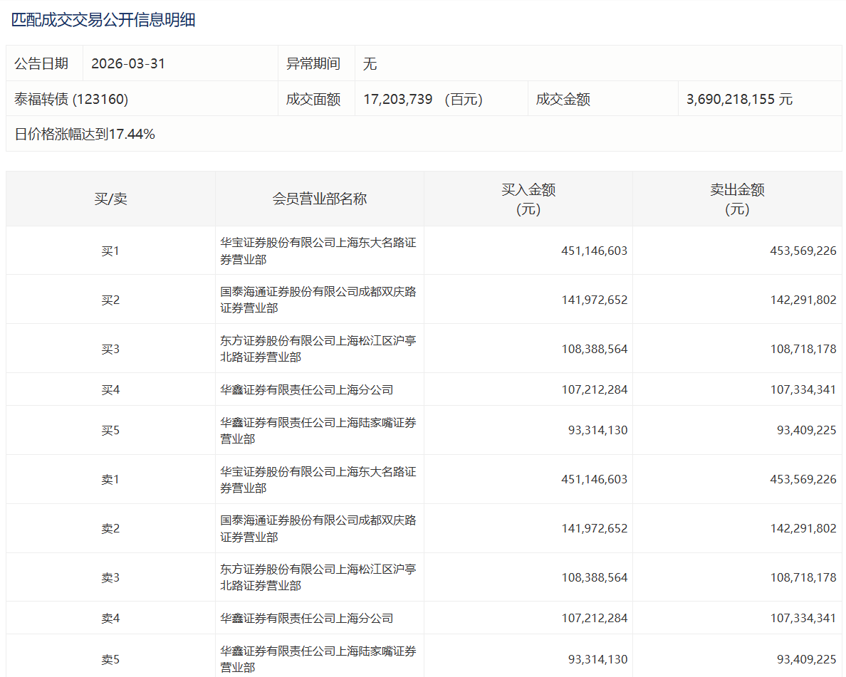
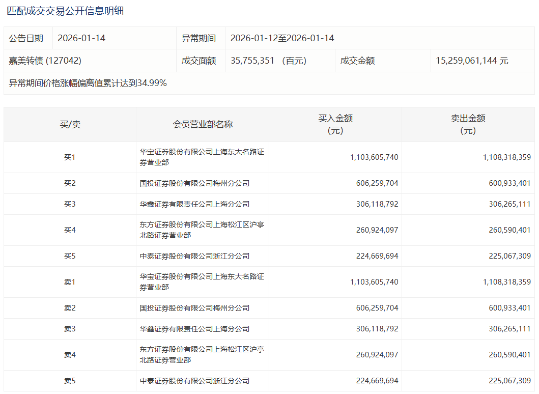
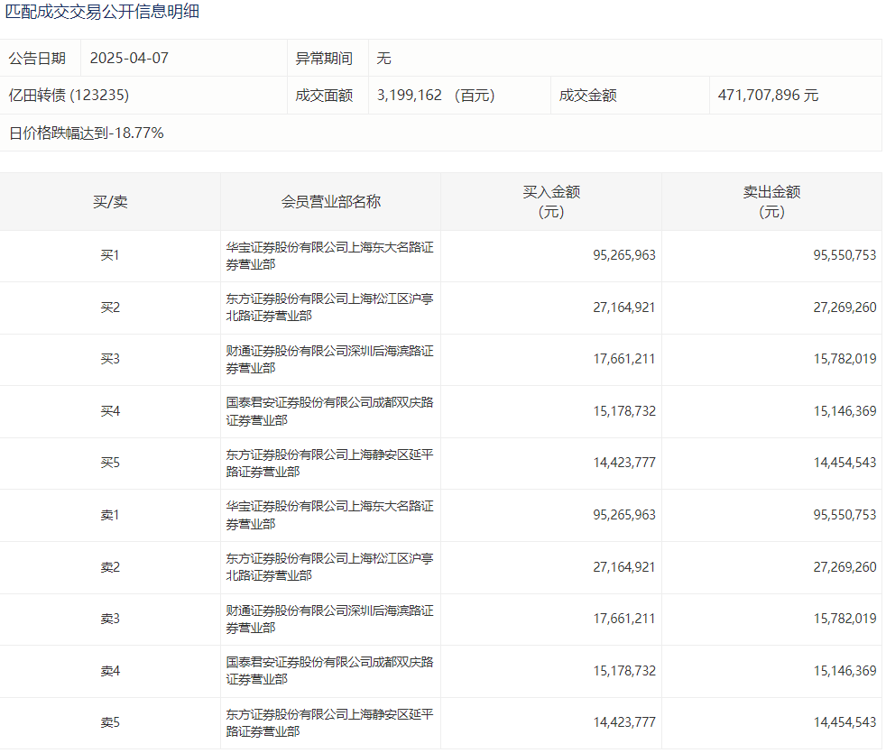
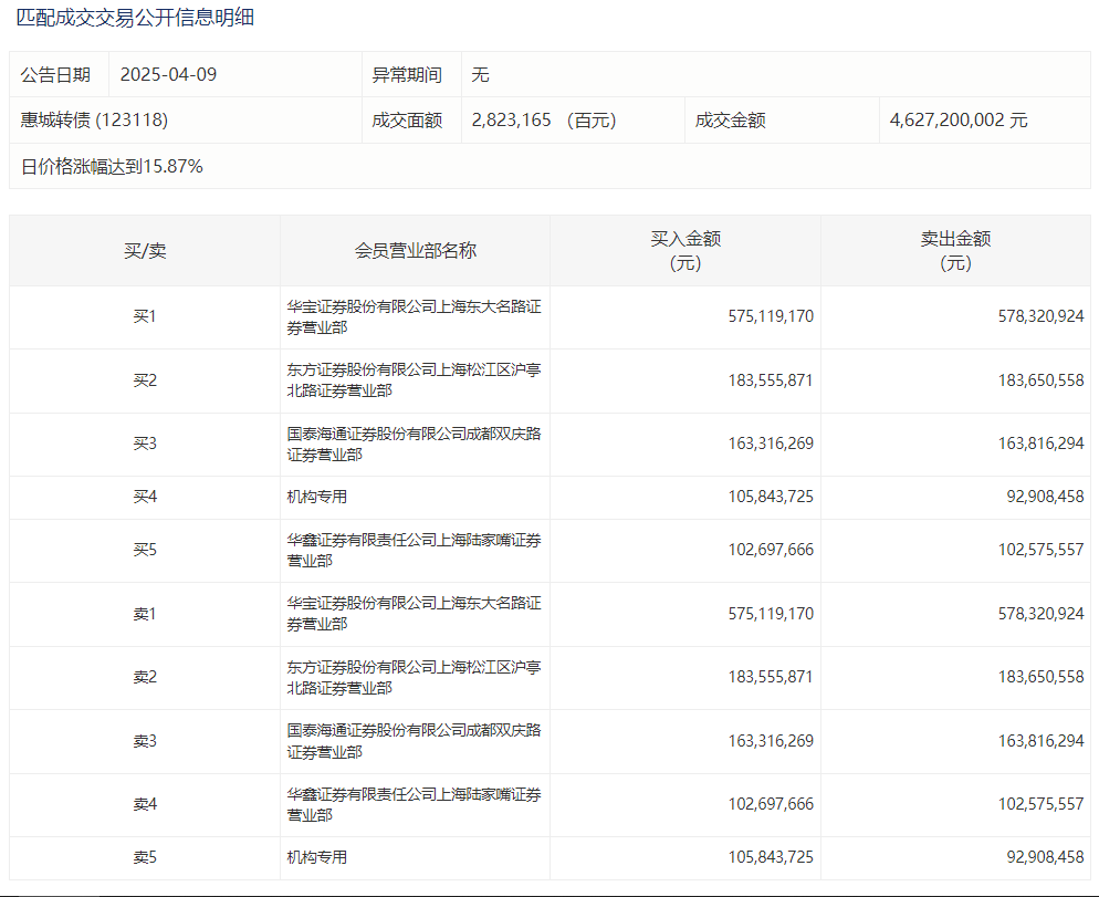
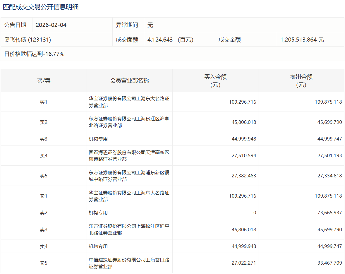
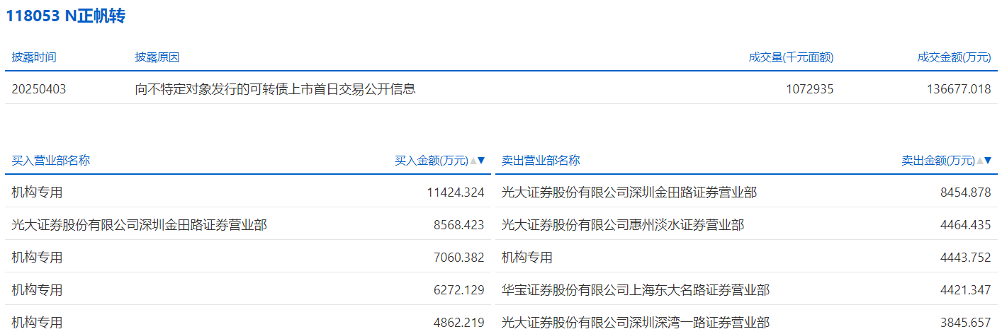
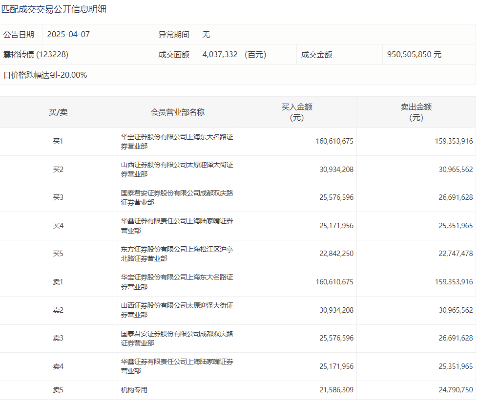
数据来源深交所http://www.szse.cn/disclosure/deal/conv/nd/mb/index.html
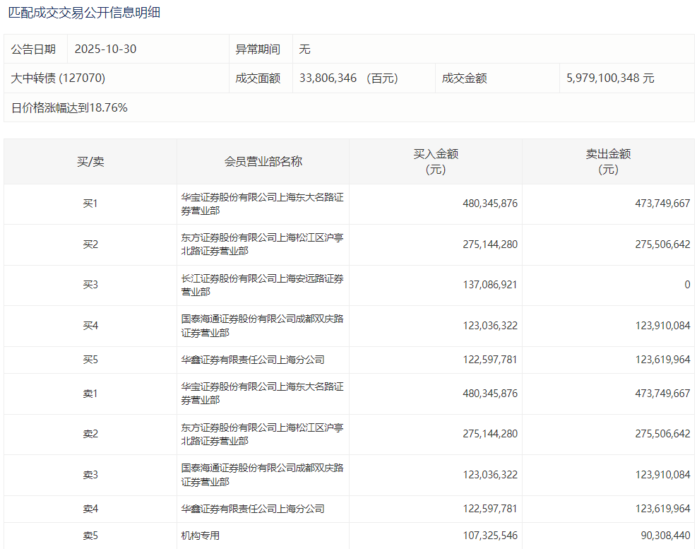
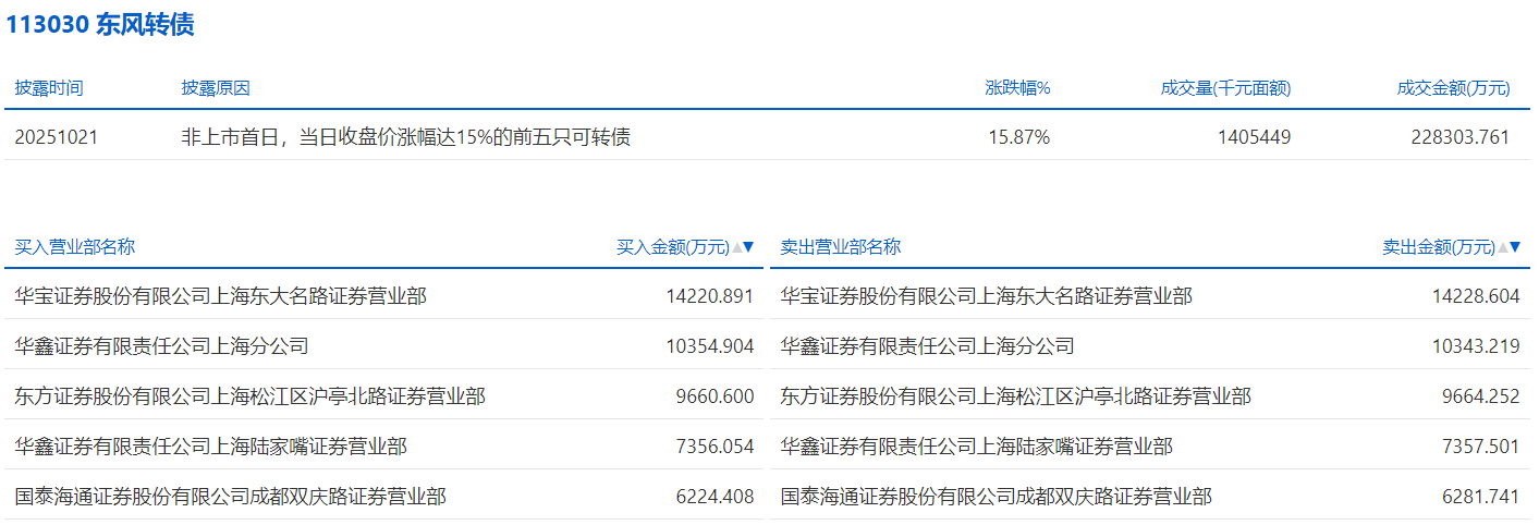
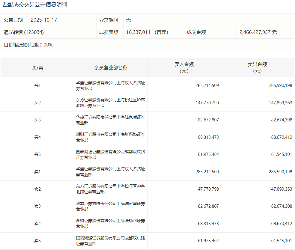
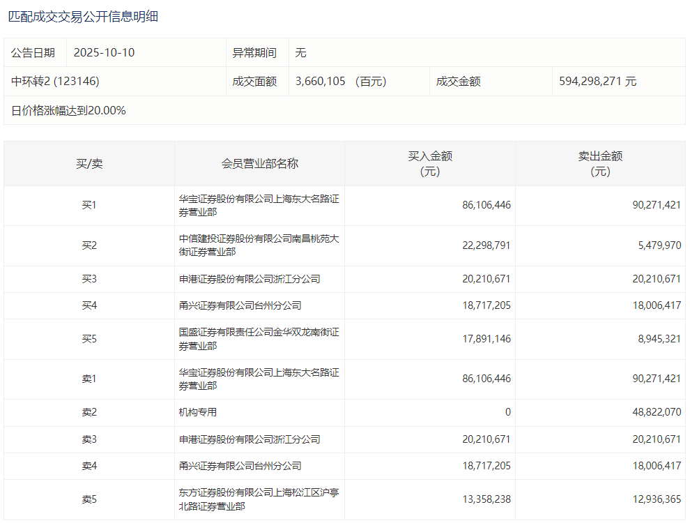
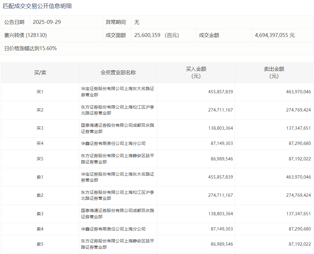
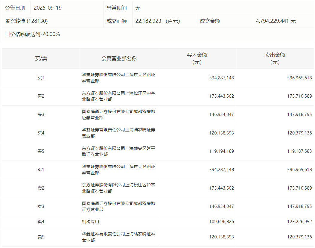
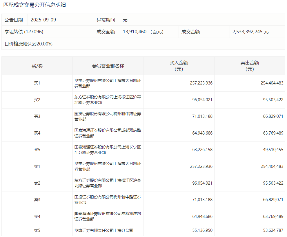
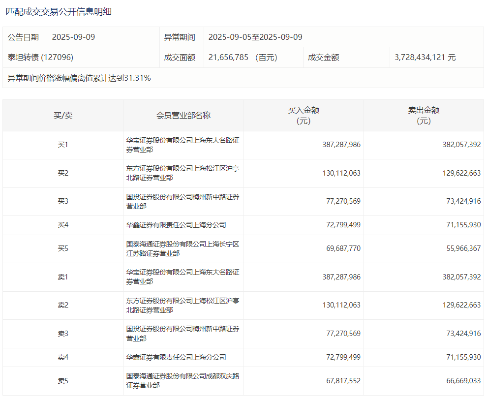
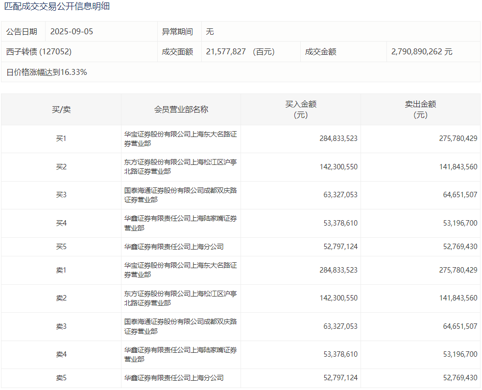
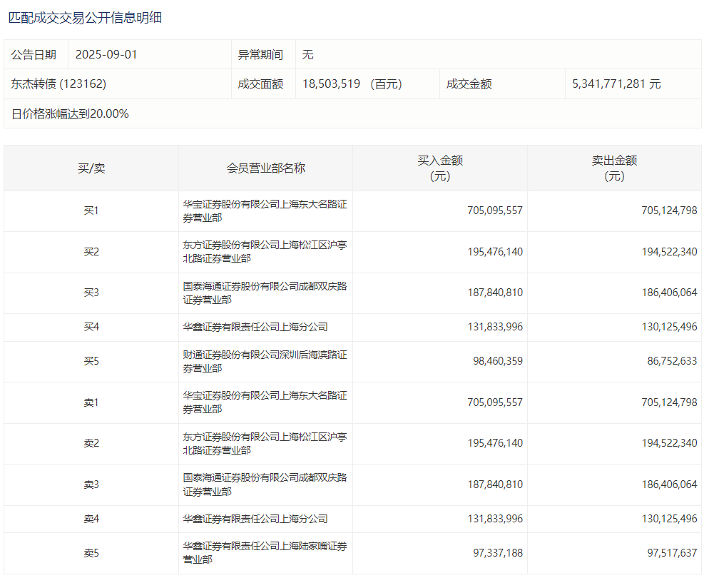
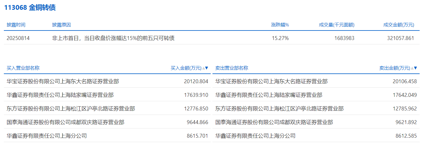
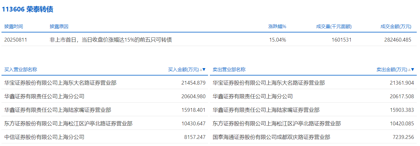
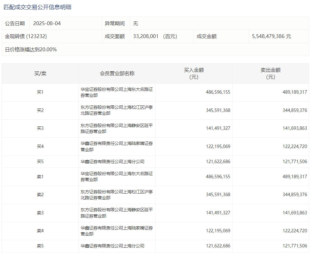
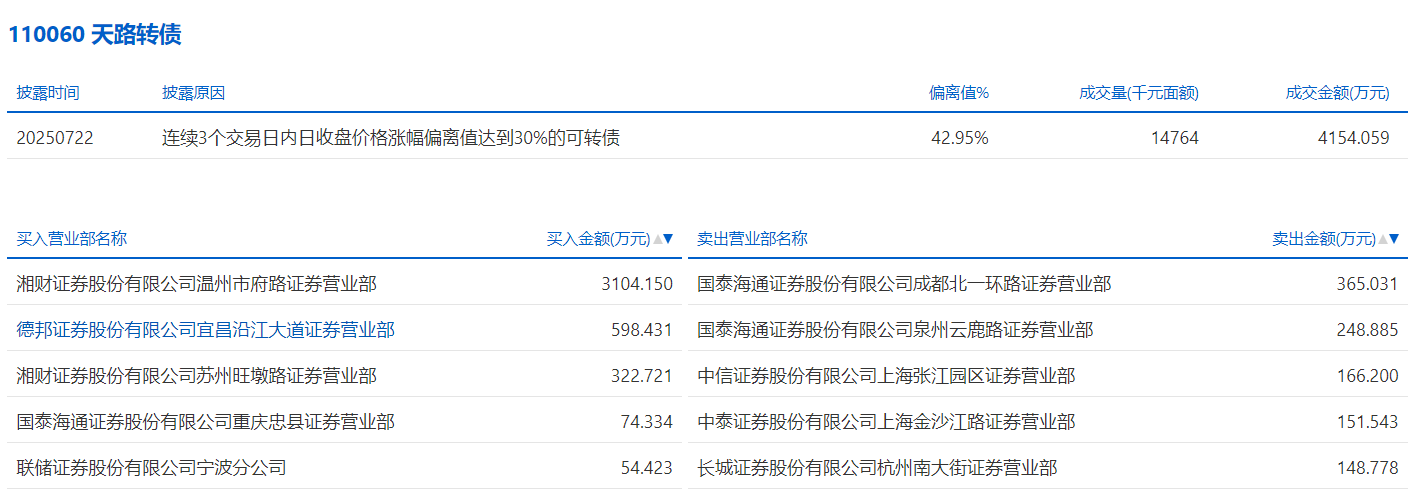
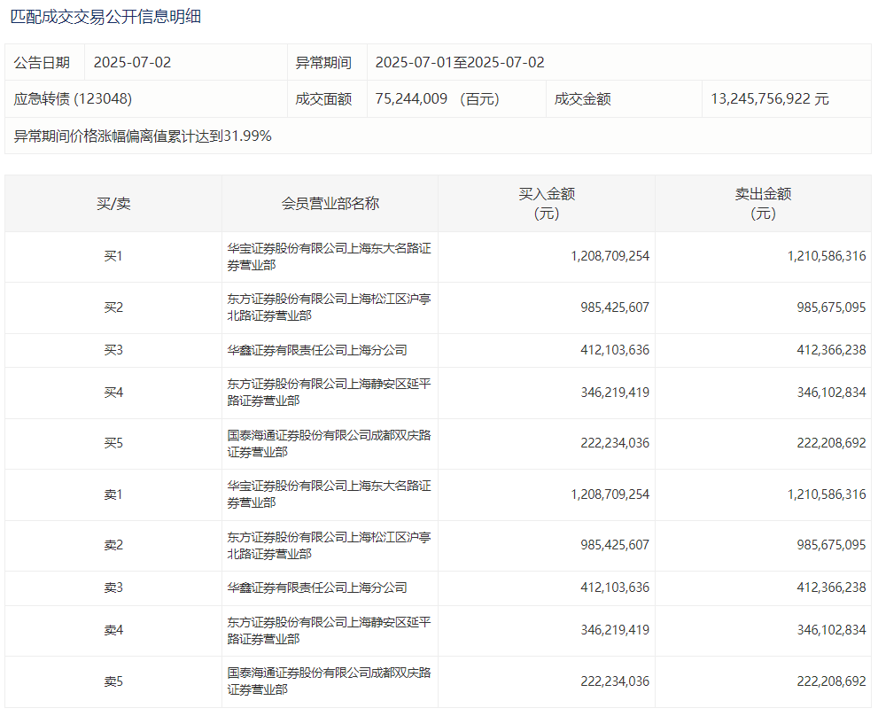
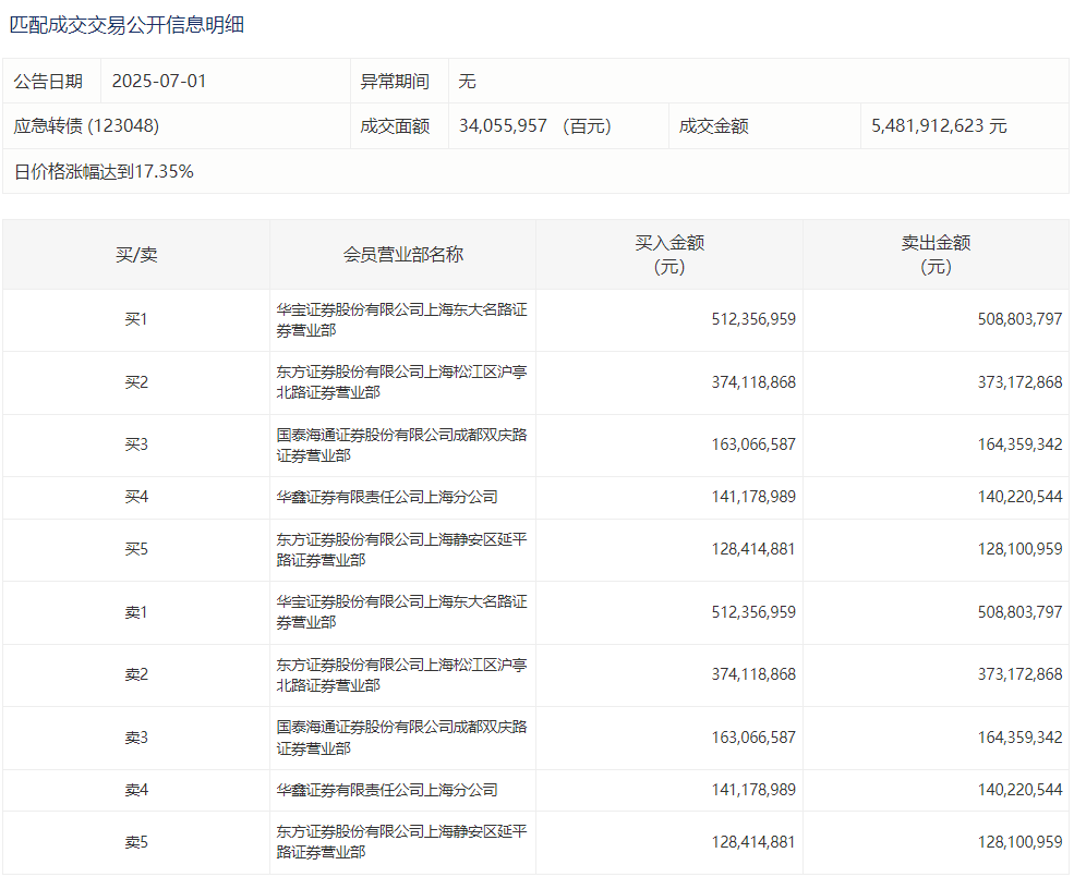
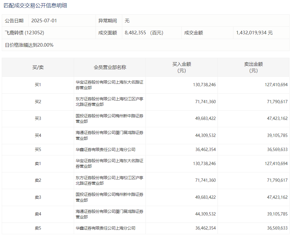
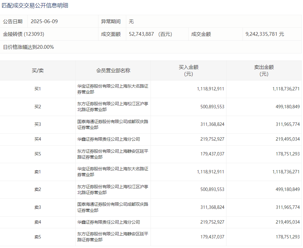
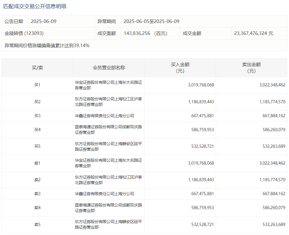
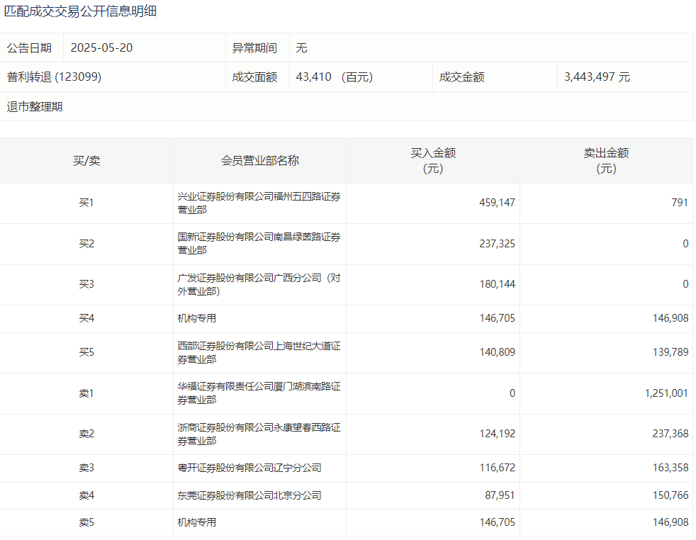
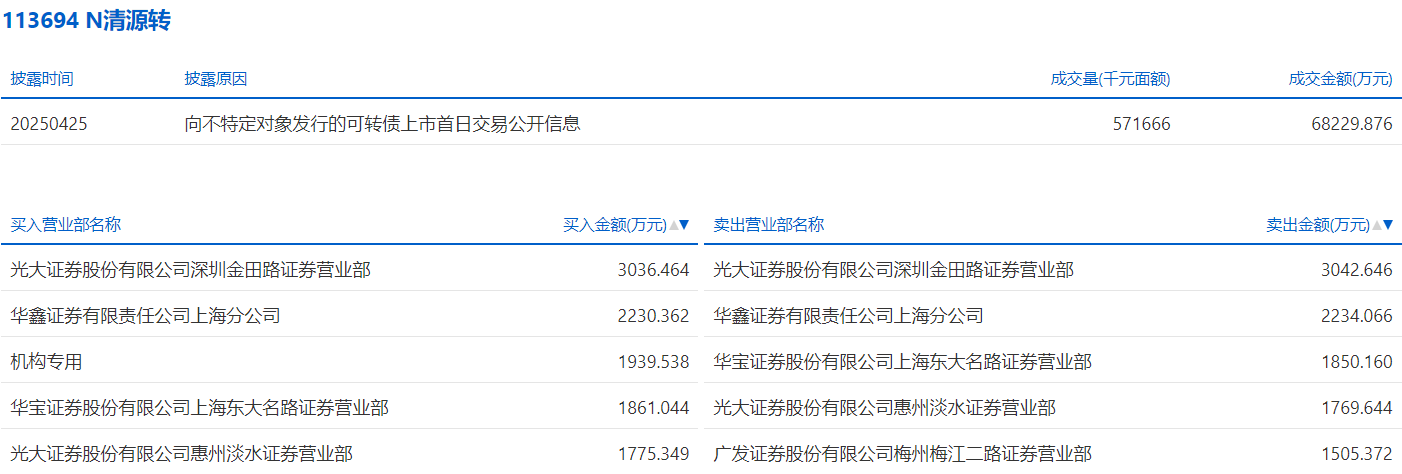
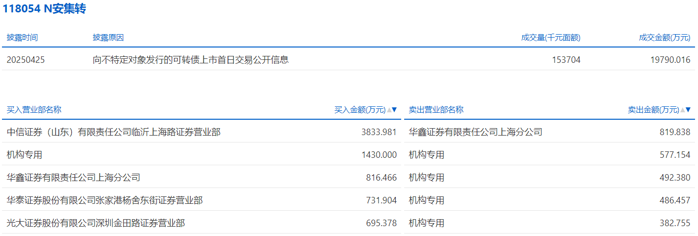
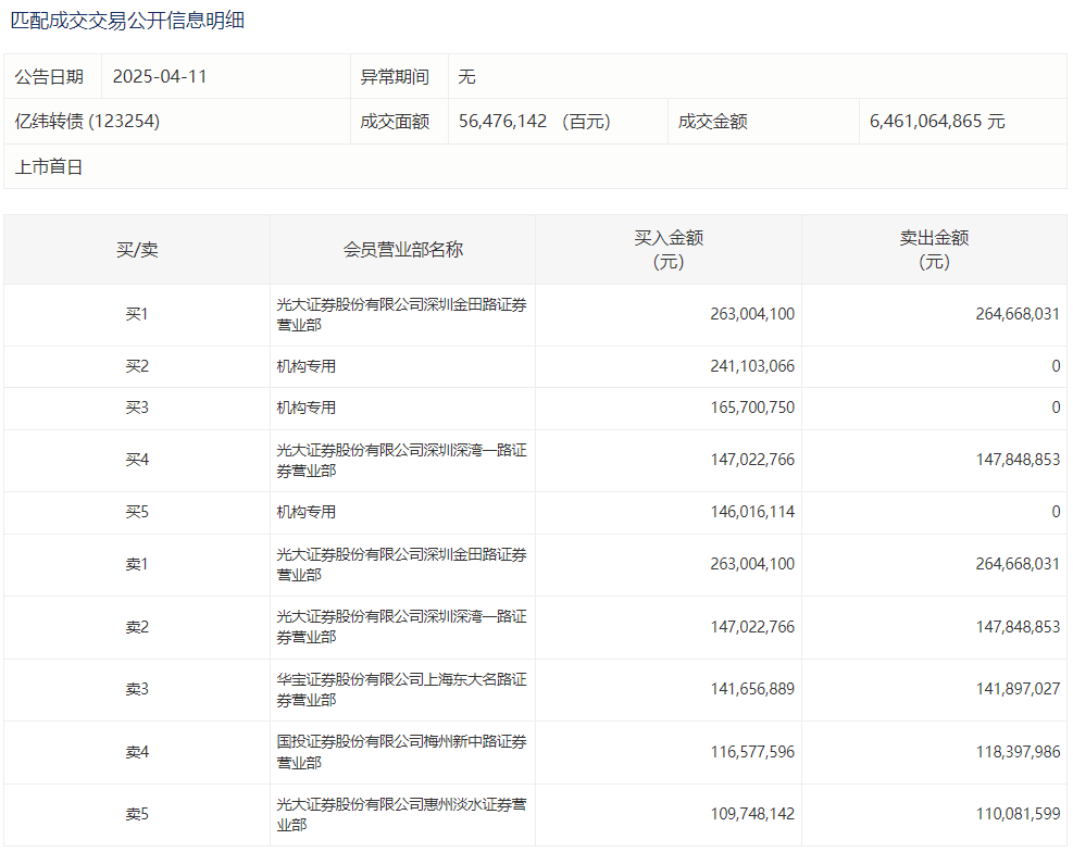
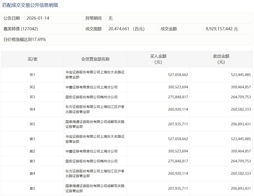
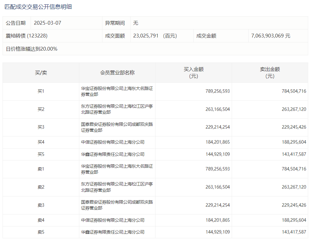
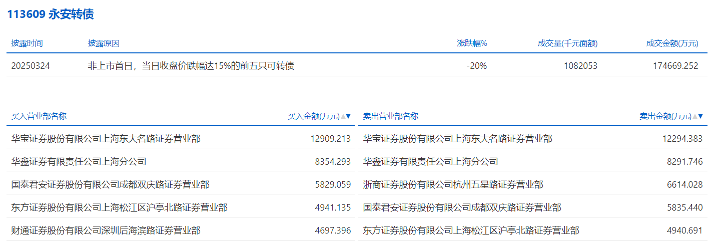
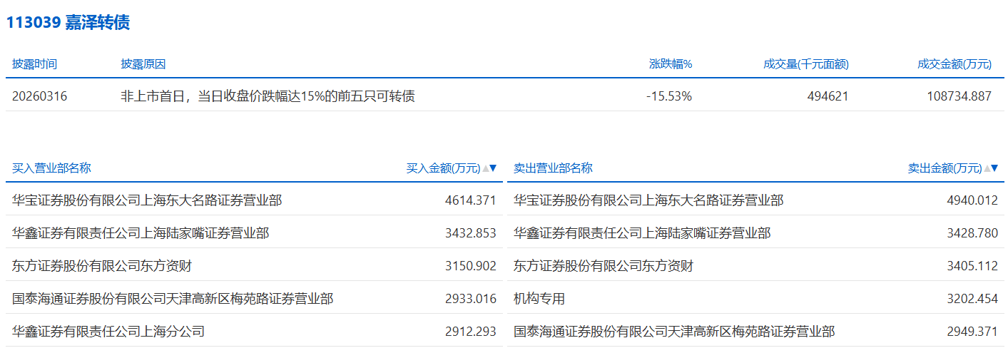
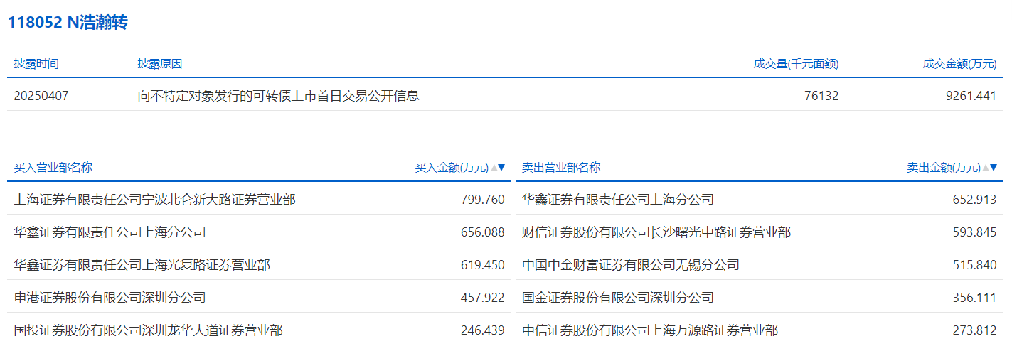
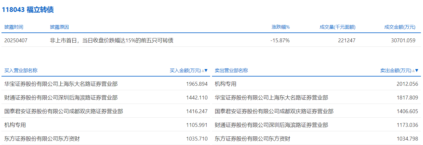
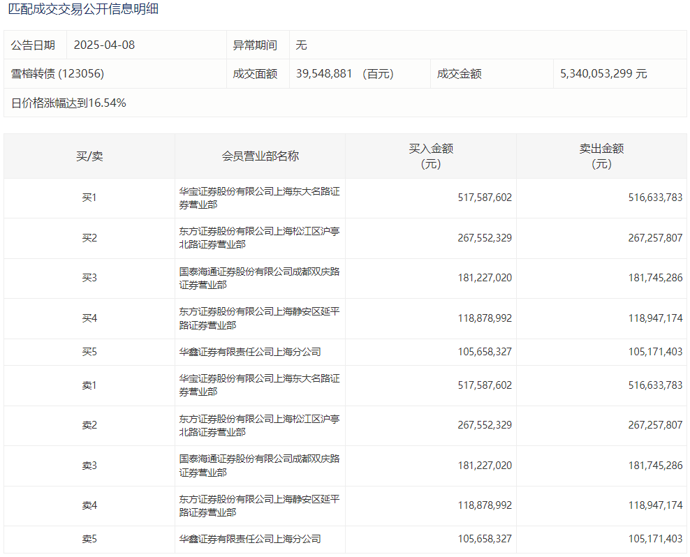
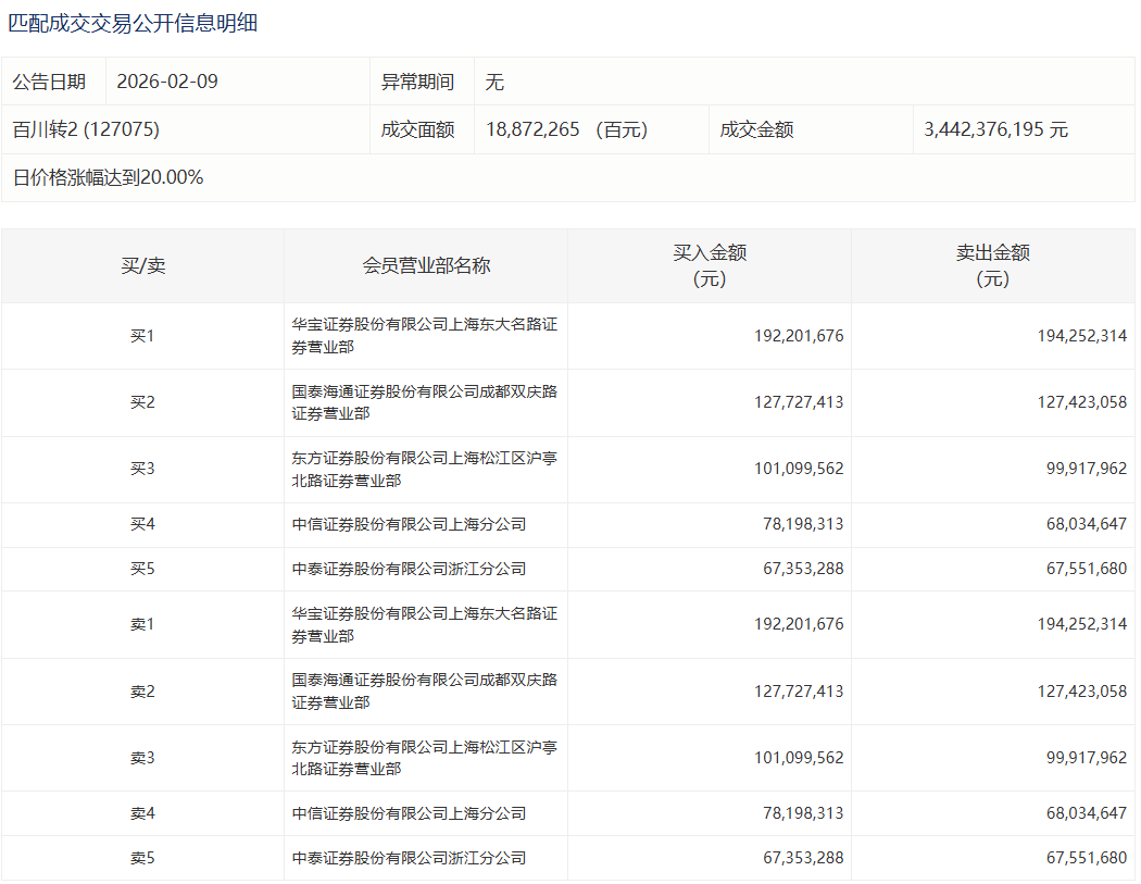
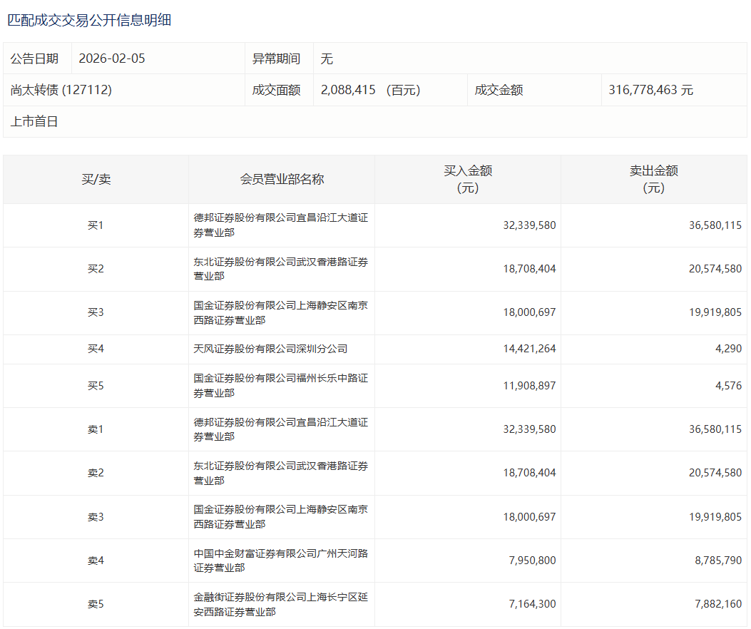
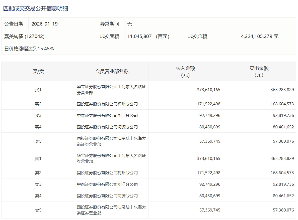
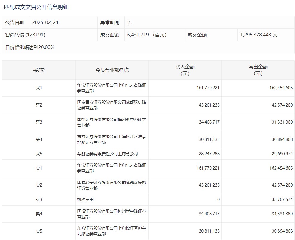
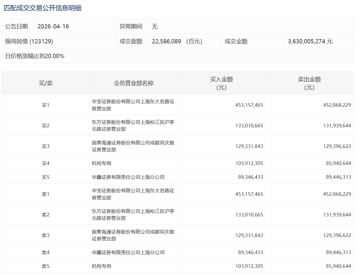
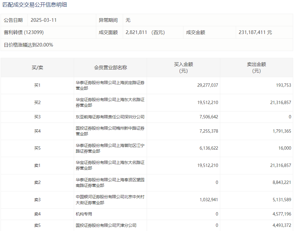
数据来源上交所http://www.sse.com.cn/disclosure/diclosure/public/inquirydatakzz/
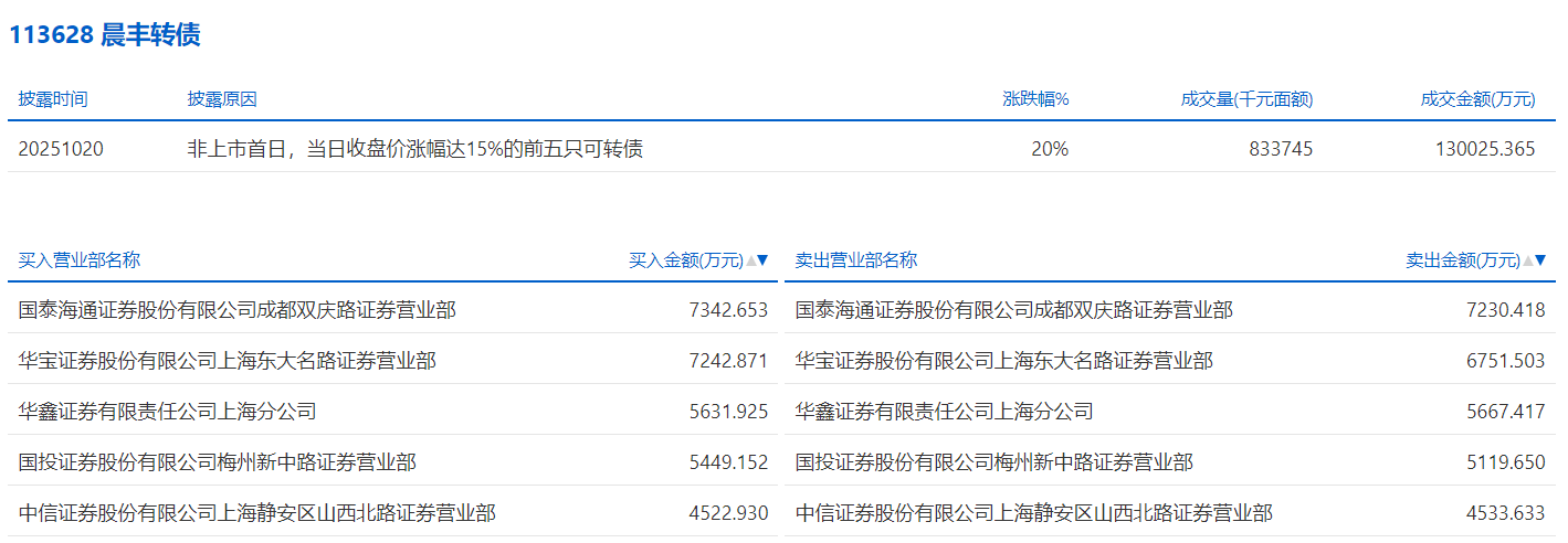
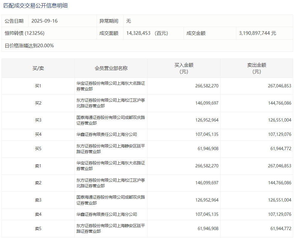
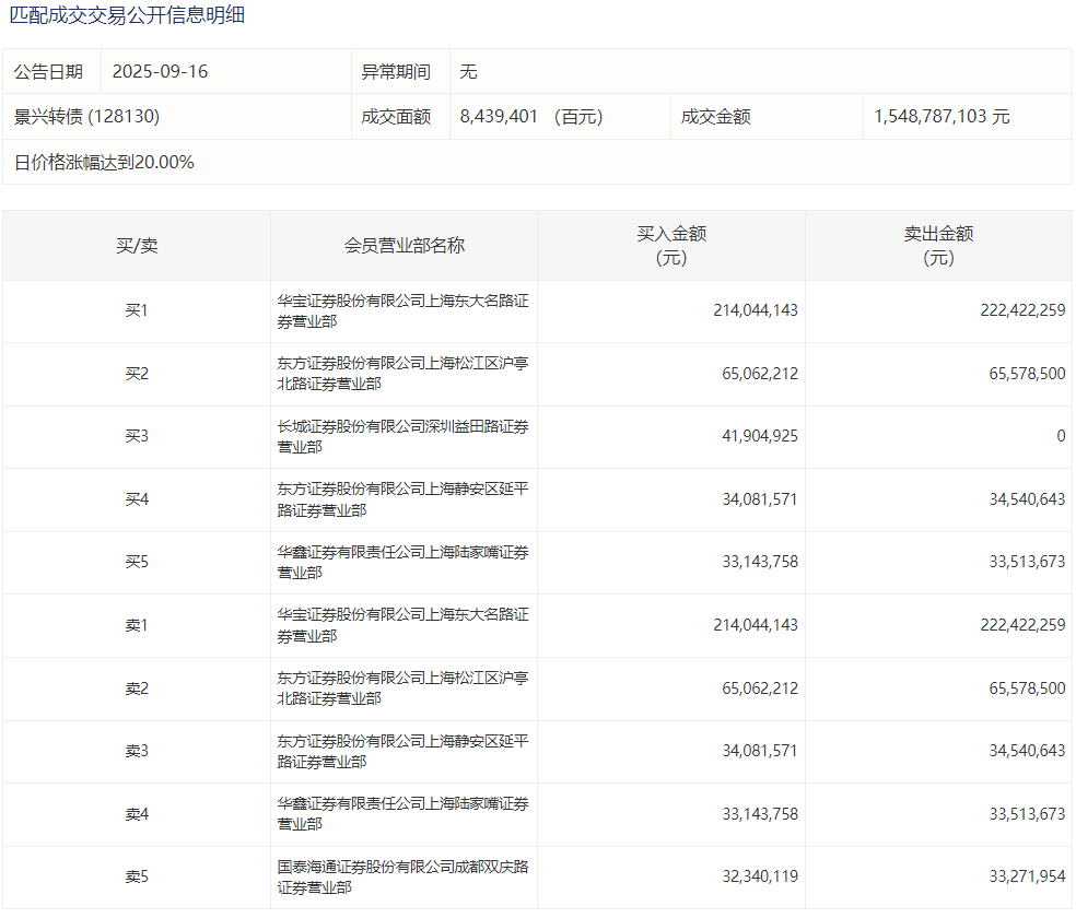
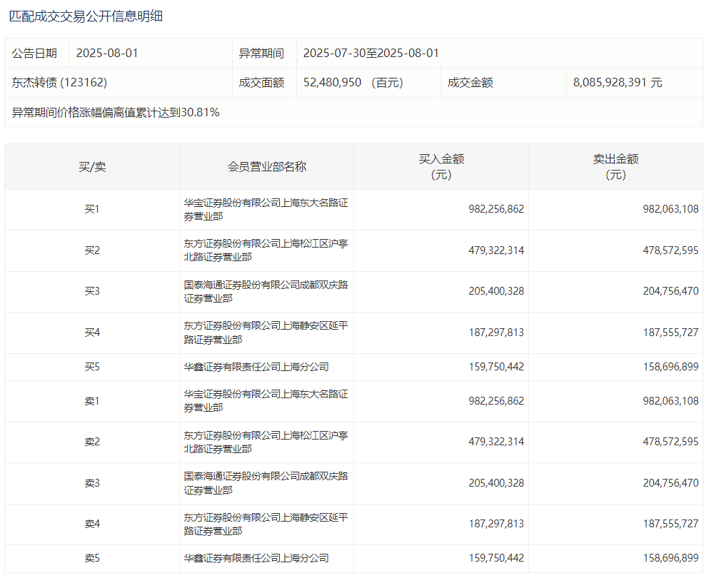
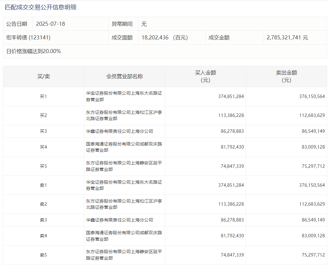
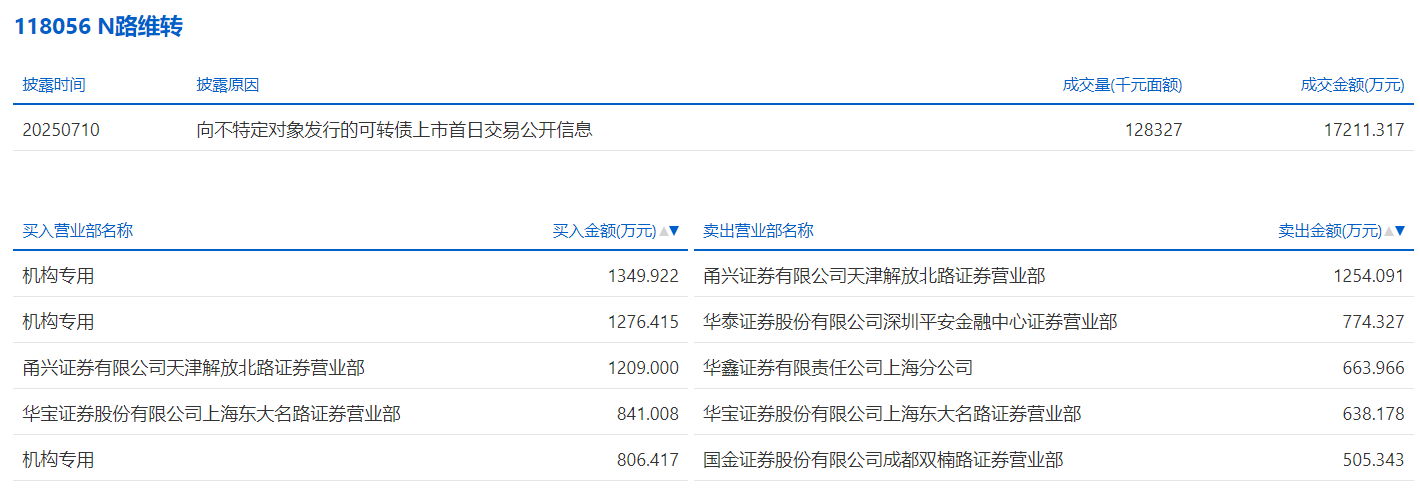
2022年8月1日,深交所可转债龙虎榜有2支转债。
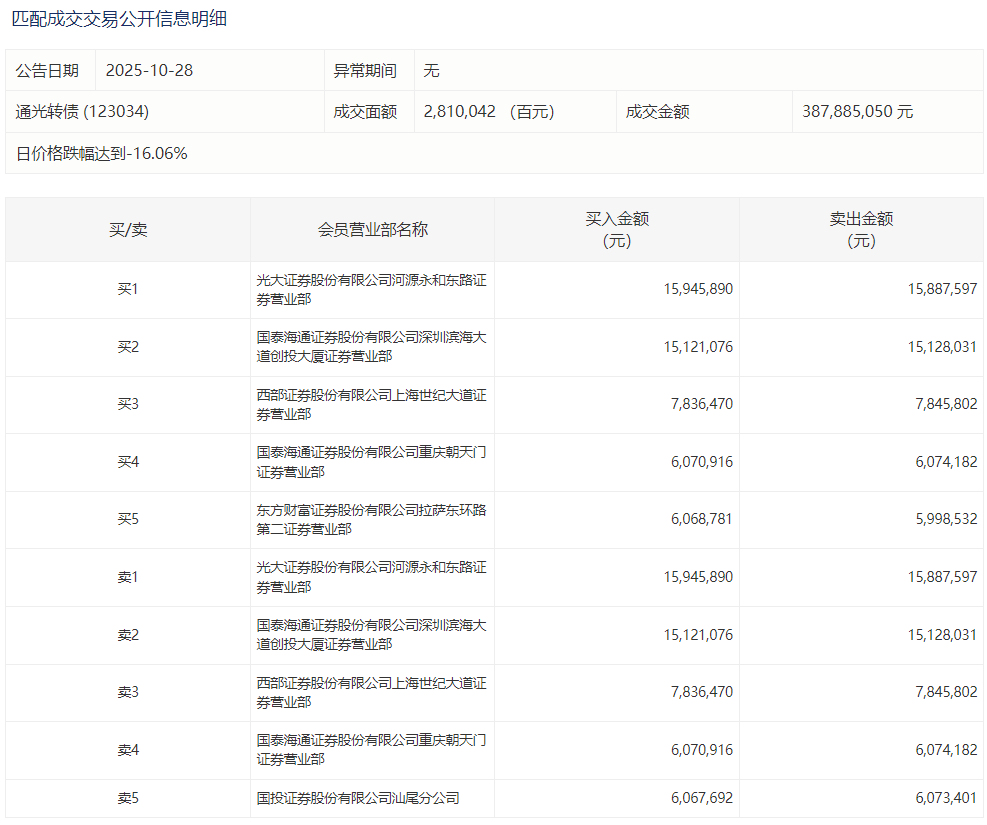
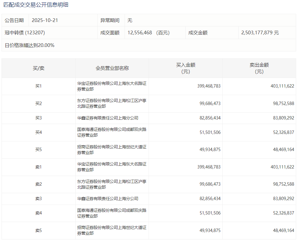
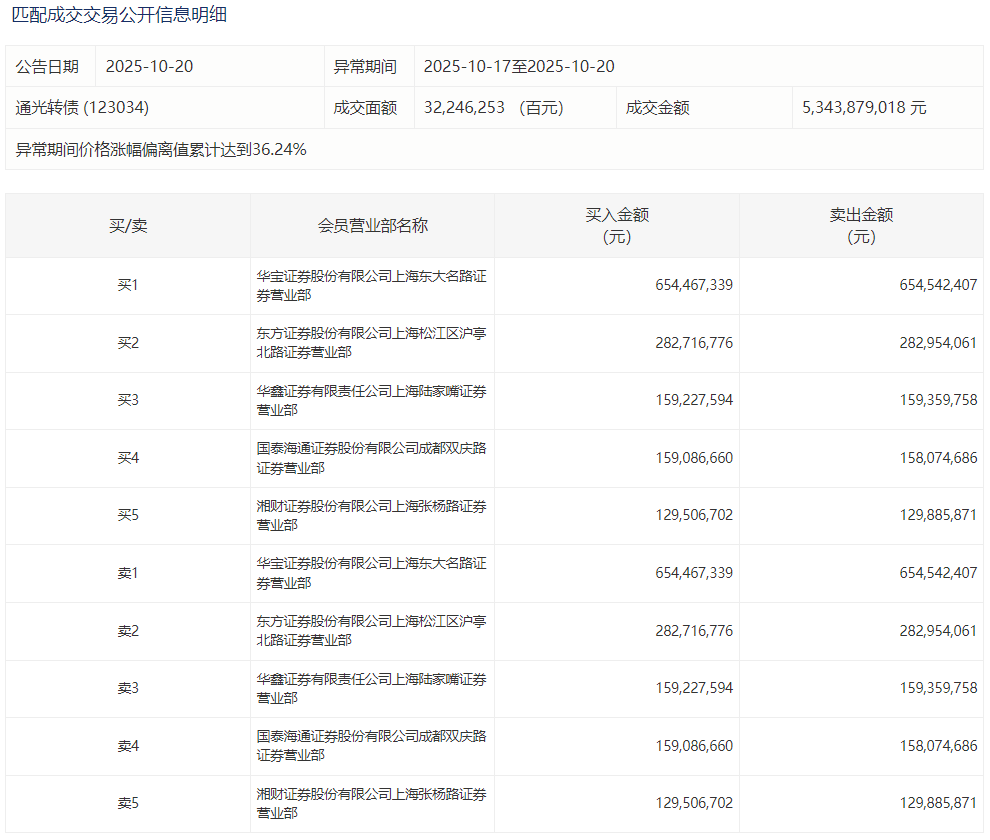
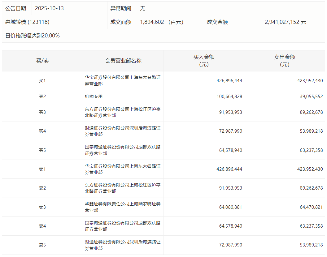
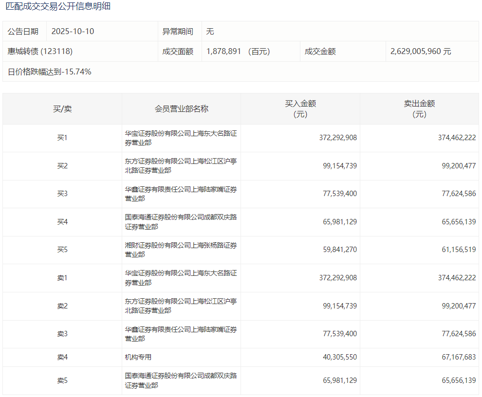
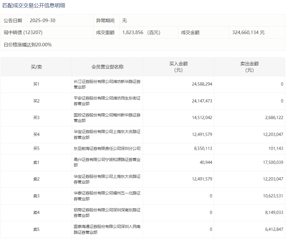
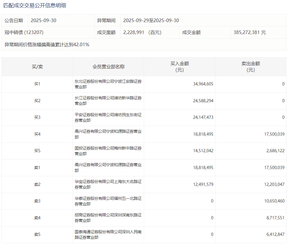
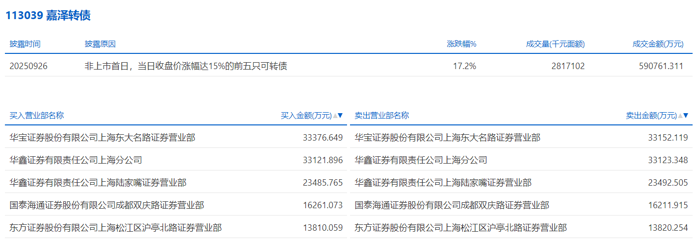
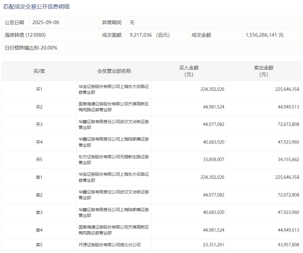
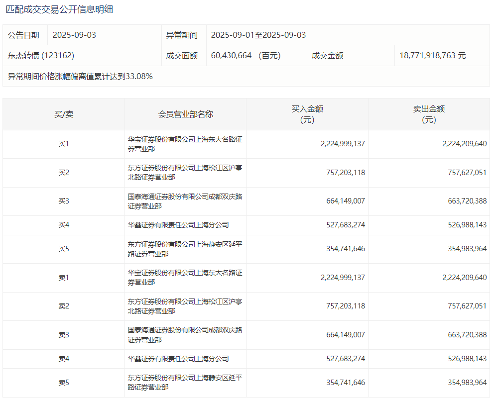
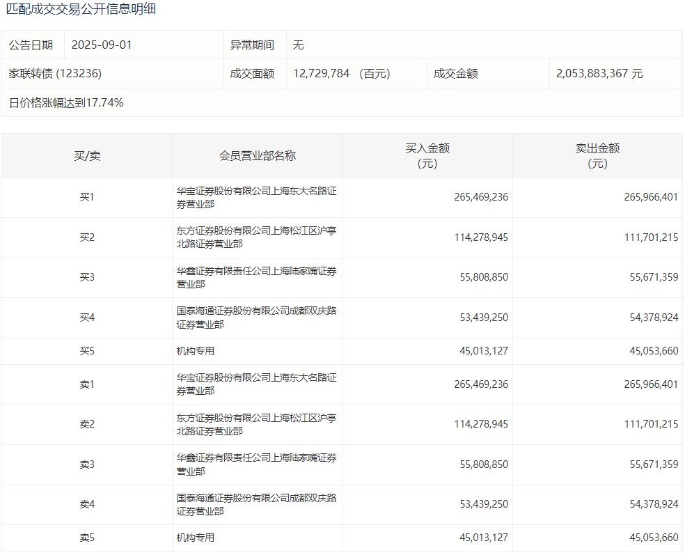
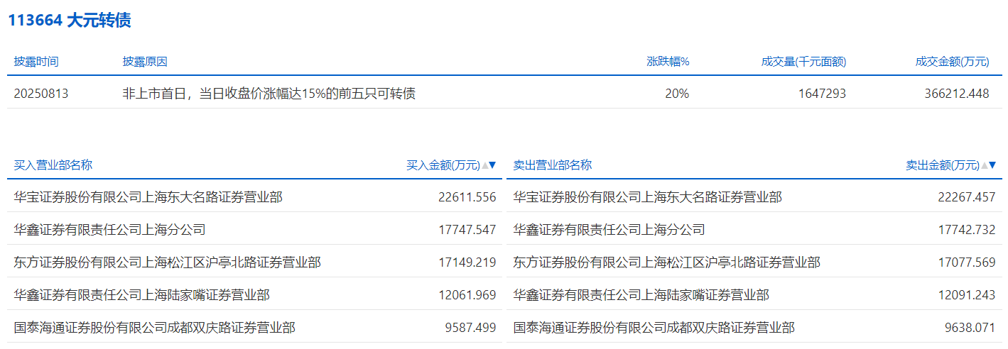
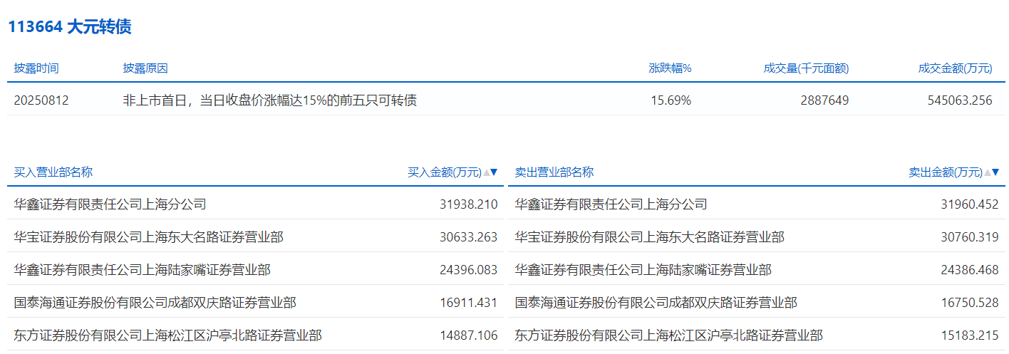
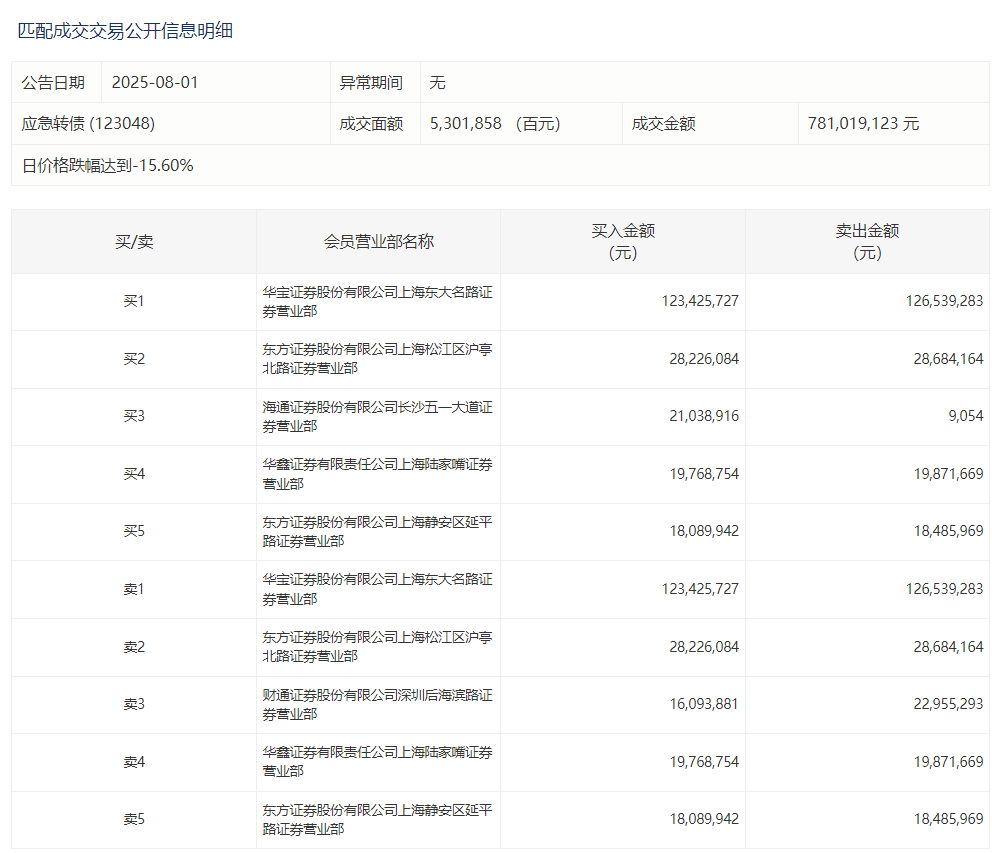
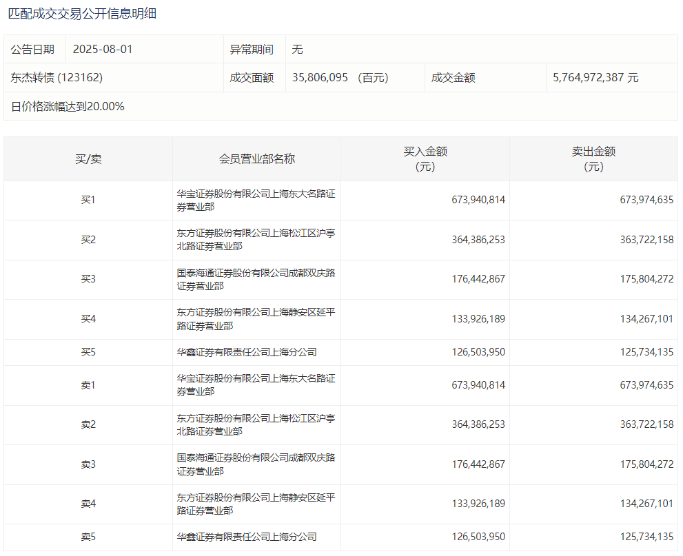
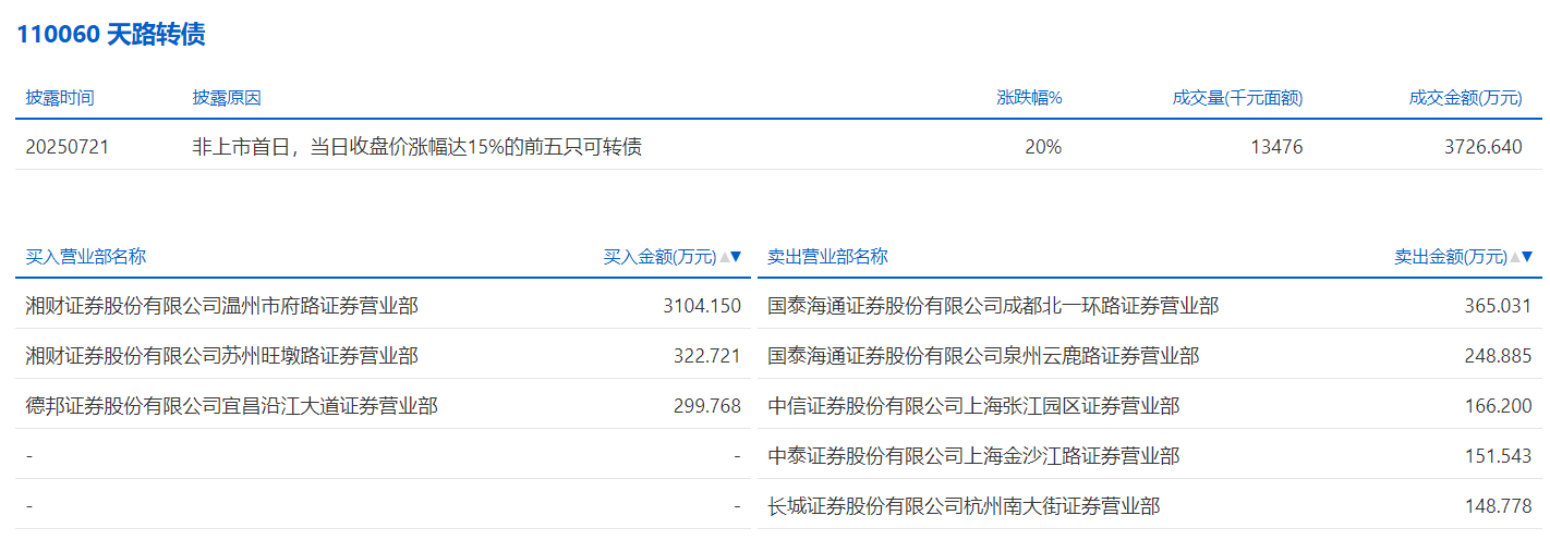
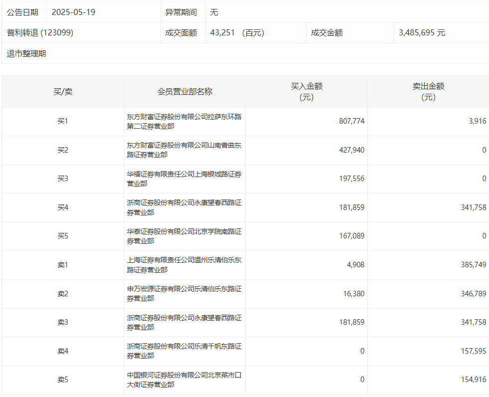
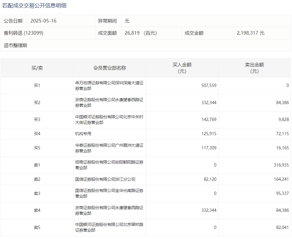
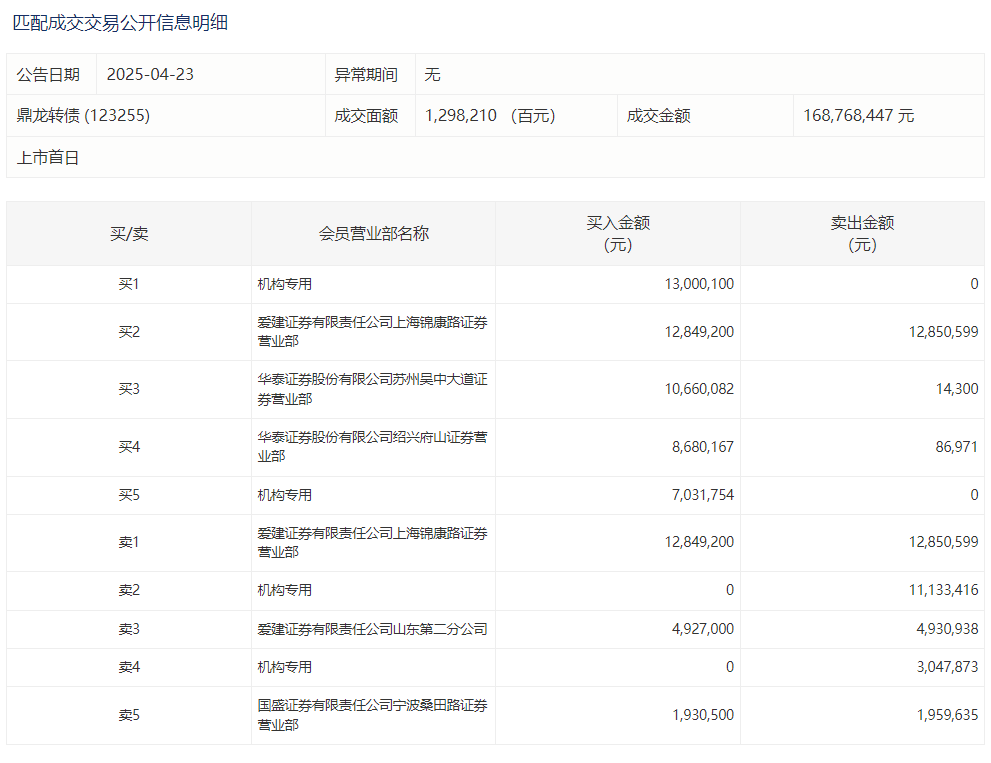
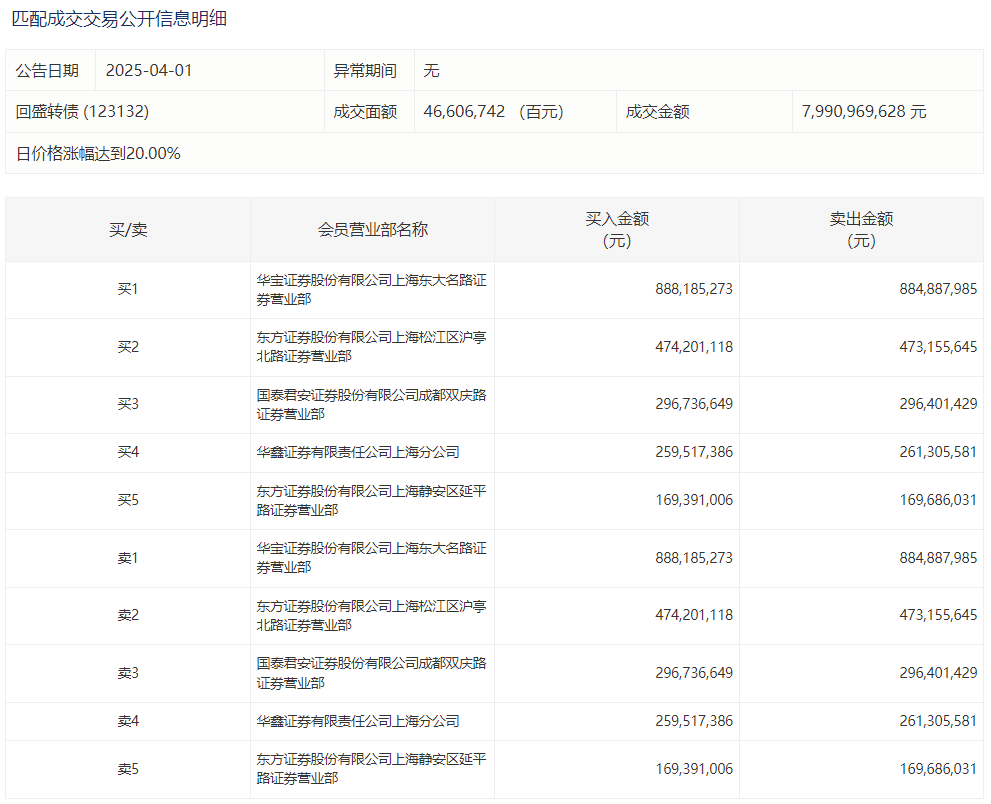
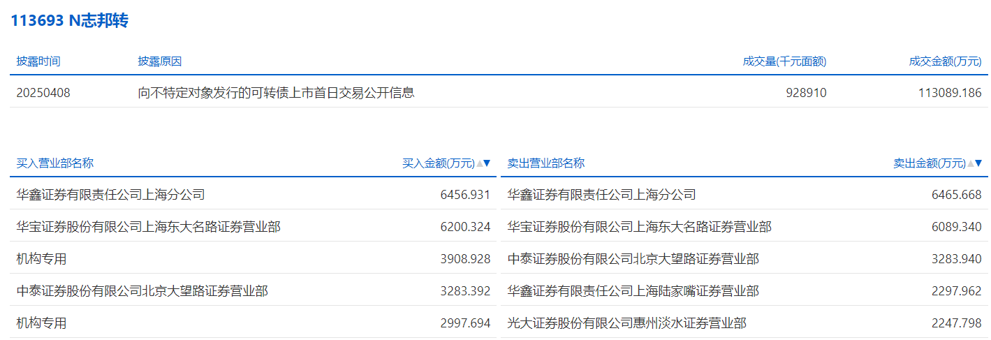
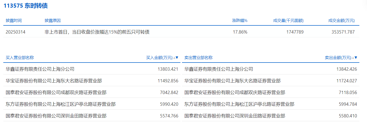
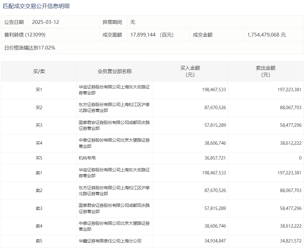
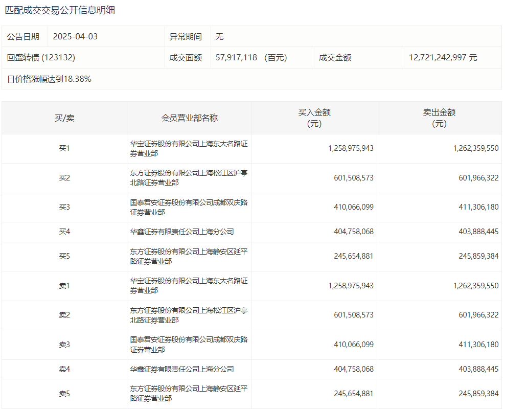
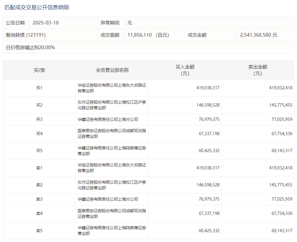
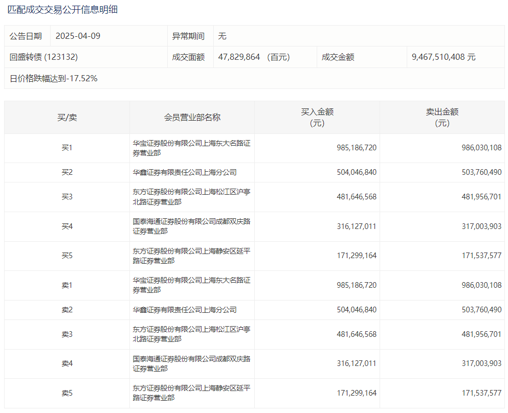
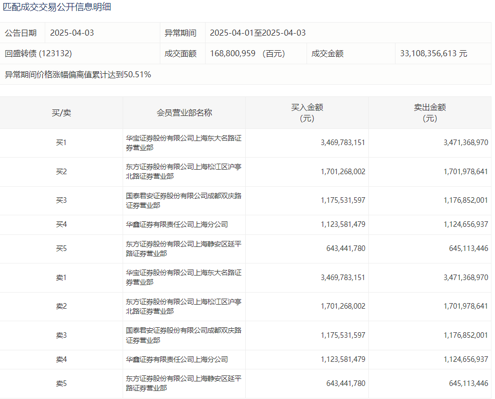
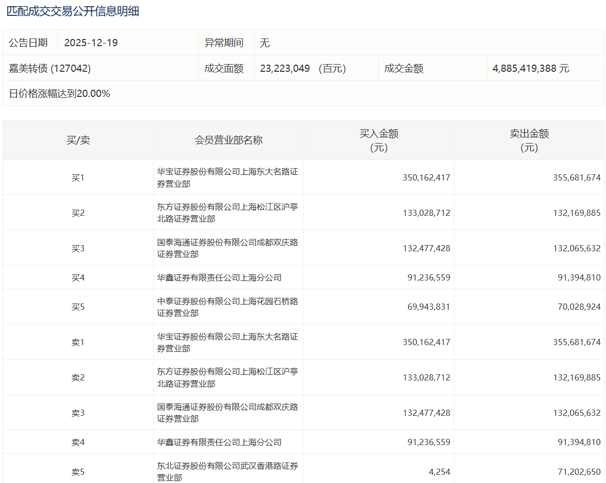
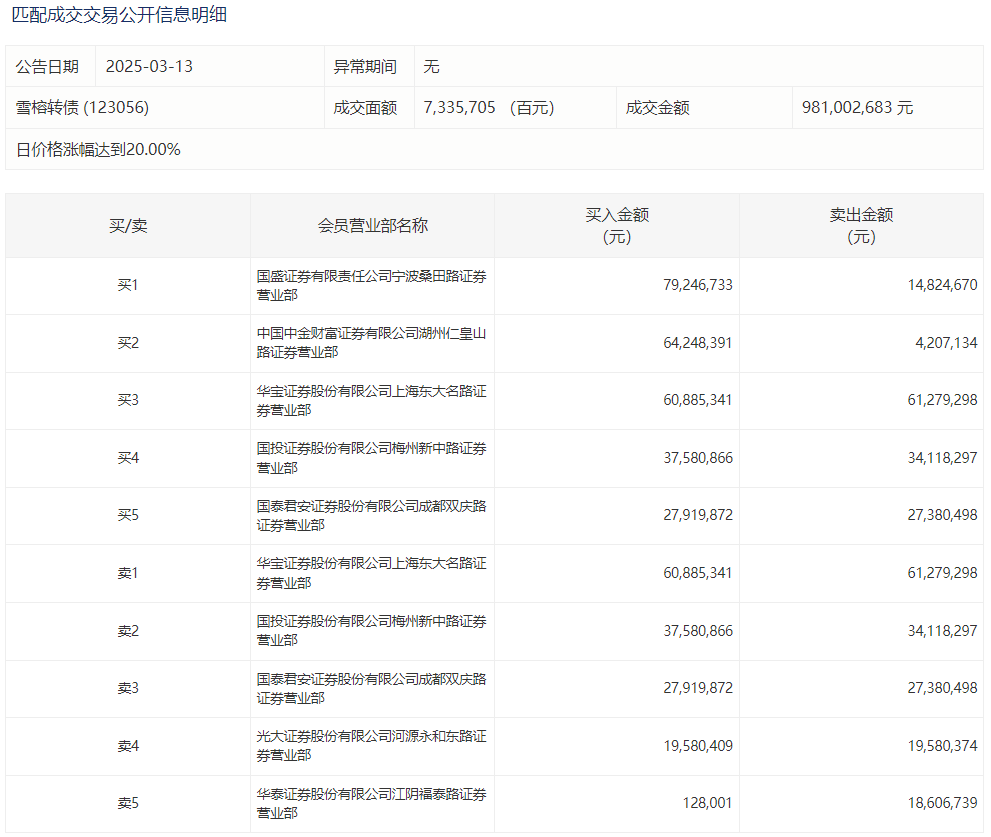
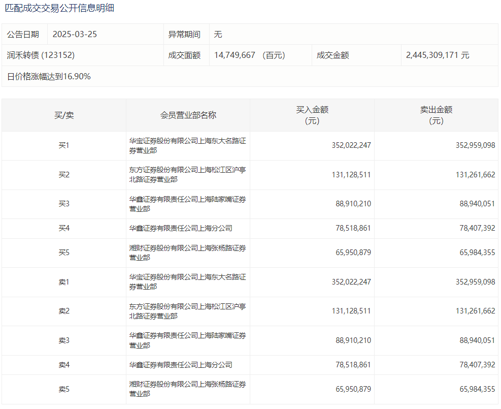
数据来源上交所http://www.sse.com.cn/disclosure/diclosure/public/inquirydatakzz/
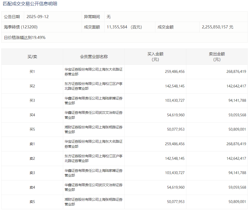
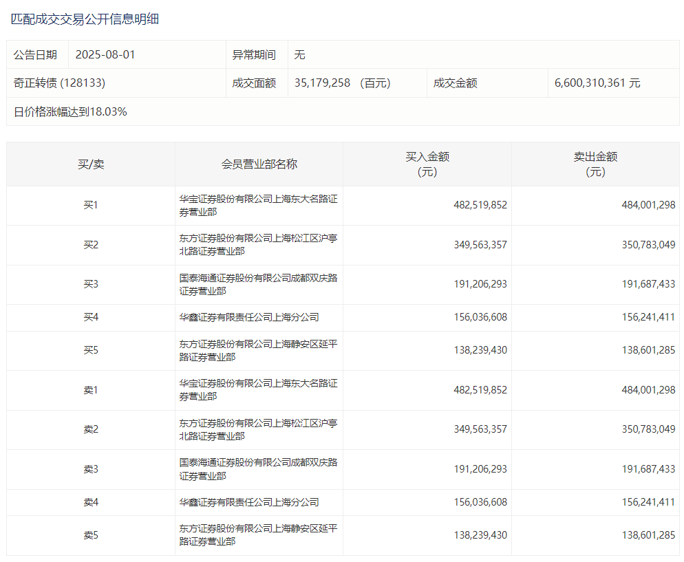
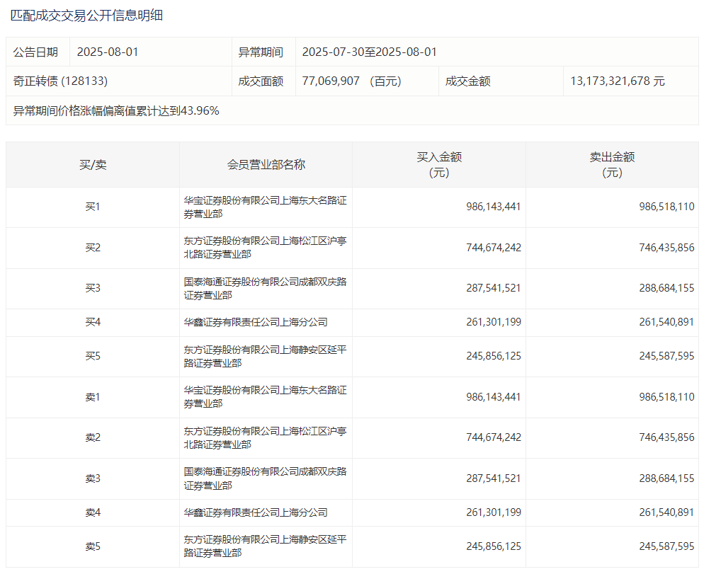
2022年8月1日,深交所可转债龙虎榜有2支转债。
Edge
Chrome
Firefox






























































































































































京公网安备 11010802031449号